Запчасти Case 580SL (6-154) - REAR DRIVE AXLE MOUNTING (06) - POWER TRAIN

Схема запчастей Case 580SL - (6-154) - REAR DRIVE AXLE MOUNTING (06) - POWER TRAIN
7
1
2
4
5
5
3
6
FIT
1:1
100%

Артикул

Название

Примечание

Количество

1

REF

INSTRUCTION

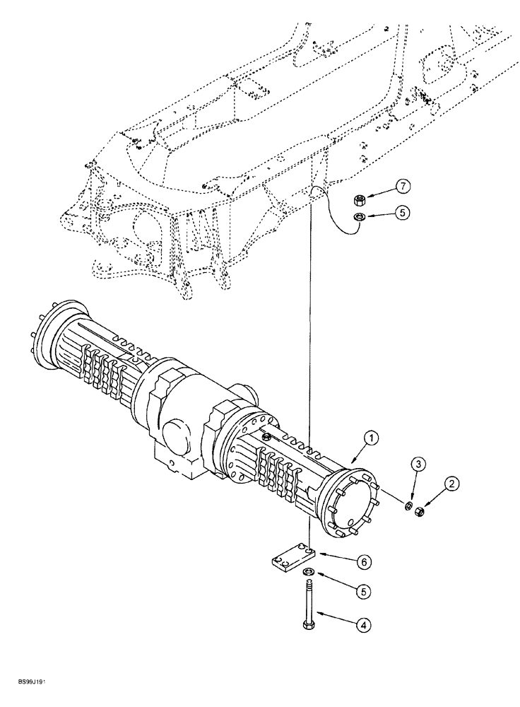
AXLE ASSEMBLY, rear drive, models without powershift transmission, parts list Figs. 6-160 - 6-172 or 6-174 - 6-186, 7-2, 7-4 or 7-5A, 7-5C

1шт.

1a

REF

INSTRUCTION

AXLE ASSEMBLY, rear drive, models with powershift transmission, parts list Figs. 6-160 - 6-172 or 6-174 - 6-186, 7-2, 7-4 or 7-5A, 7-5C

1шт.

2

D138492

NUT,M22 X 1.5 - 6 HVY HEX

hex, special, 22 mm - 1.5

20шт.

3

D138380

WASHER,22.8mm ID x 44.5mm OD x 5.56mm Thk

flat, hardened, special

20шт.

4

827-20230

BOLT,Hex, M20 x 2.5 x 230mm, Cl 10.9

8шт.

5

896-11020

WASHER,22mm ID x 37mm OD x 4mm Thk

flat, 22 x 37 x 4 mm, hardened

16шт.

6

117933A1

LARGE PLATE

PLATE, LARGE axle mounting

2шт.

7

829-1420

NUT,M20, Cl 10

8шт.

Выбрано товаров: 8