Запчасти Case 580SL (8-009A) - EQUIPMENT HYDRAULIC SYSTEM, OIL COOLER LINES, RETURN LINES & FILTER, WITH CUT HOSES AT COOLER (08) - HYDRAULICS

Схема запчастей Case 580SL - (8-009A) - EQUIPMENT HYDRAULIC SYSTEM, OIL COOLER LINES, RETURN LINES & FILTER, WITH CUT HOSES AT COOLER (08) - HYDRAULICS
21
14
8
16
3
14
15
4
7
24
1
12
17
22
18
23
11
10
11
19
20
25
12
8
13
7
5
9
6
11
2
11
FIT
1:1
100%

Артикул

Название

Примечание

Количество

1

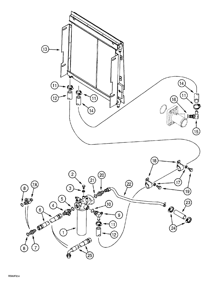
122536A1

HYDRAULIC OIL FILTER

hydraulic oil, parts list Fig. 8-124

1шт.

2

614-10020

BOLT,Hex, M10 x 1.5 x 20mm, Cl 8.8, Full Thd

4шт.

4

218-5245

TEE,1-5/16" - 12 Male JIC x 1-5/16" - 12 Male JIC x 1-5/16" - 12 Male ORB

TEE, 1-5/16-12 inch flare branch x flare x adj. O-ring boss, loader valve to filter and filter to backhoe control valve, Includes: Ref. 5

1шт.

5

237-6016

O-RING,0.116" Thk x 1.171" ID, -916, Cl 6, 90 Duro

1шт.

6

144233A1

HOSE,1.0” ID x 890mm L

890 mm (35 inch) long, return, backhoe control valve to filter, no longer available, order P/N 313648A1 Ref. 25

1шт.

7

218-5069

HYD CONNECTOR,1-5/16" - 12 Male JIC x 1-5/16" - 12 Male ORB

Adapter straight, 1-5/16-12 inch flare x O-ring boss, backhoe control valve outlet port, models with extendable dipper, if used

1шт.

7a

218-5245

TEE,1-5/16" - 12 Male JIC x 1-5/16" - 12 Male JIC x 1-5/16" - 12 Male ORB

TEE, 1-5/16-12 inch flare branch x flare x adj. O-ring boss, backhoe control valve outlet port, Includes: Ref. 8, models with extendable dipper, if used

1шт.

8

237-6016

O-RING,0.116" Thk x 1.171" ID, -916, Cl 6, 90 Duro

P/N's 218-5069 or 218-5245 fitting

1шт.

9

301104A1

FITTING,5/8" OD x 7/8" - 14 ORFS x 9/16" - 18 JIC

Special Tee W/Hose Barb, Includes: Ref. 10

1шт.

10

237-6010

O-RING,0.097" Thk x 0.755" ID, -910, Cl 6, 90 Duro

1шт.

11

328186A1

HOSE CLAMP,400mm L

4шт.

12

301341A1

HOSE

with hose guard, 2500 mm (98-7/16 inch) long filter cooler

1шт.

13

301239A1

COOLER, OIL

hydraulic, heavy duty, see Fig. 6-24 or 6-26 for cooler mounting hardware and component parts

1шт.

14

301342A1

HOSE

with hose guard, 515 mm (20-1/4 inch) long

1шт.

15

217-342

FITTING,90 Degree Elbow, 5/8" Hose Barb x 9/16" - 18 Male ORB

ELBOW, 90 degree, 5/8 stem end x 9/16 -18 inch adj. O-ring boss, to pump flange, Includes: Ref. 16

1шт.

18

515-25238

CLAMP,15/16", Insul, 1/2" Bolt

P-type, tube

2шт.

19

614-10025

BOLT,Hex, M10 x 1.5 x 25mm, Cl 8.8

2шт.

20

218-5086

HYD CONNECTOR,1 5/16"-12, 37 Degree x 1 5/8"-12, O-Ring

ADAPTER straight, 1-5/16-12 flare x 1-5/8 inch O-ring, Includes: Ref. 21

1шт.

21

237-6020

O-RING,0.118" Thk x 1.475" ID, -920, Cl 6, 90 Duro

1шт.

22

295172A1

TUBE

return tank

1шт.

23

D38435

HOSE,1" ID x 1 1/2" OD 3.5" L

89 mm (3-1/2 inch) long, cut from P/N S118383X bulk hose, return tube to tank, see Fig. 7-8 for attaching brake line clamp

1шт.

24

214-1420

HOSE CLAMP,#20, 0.81" - 1.75", Type F Worm

2шт.

25

313648A1

HYDRAULIC HOSE,1.0” ID x 910mm L

910 mm (35-27/32") long, Return, Backhoe control valve filter

1шт.

S118383X

LARGE HOSE

HOSE,LARGE bulk, 25 (1) x 38 (1-1/2) x 4877 mm (192 inch) long

1шт.

3

895-11010

WASHER,11mm ID x 20mm OD x 2mm Thk

4шт.

17

895-11010

WASHER,11mm ID x 20mm OD x 2mm Thk

2шт.

16

237-6006

O-RING,0.078" Thk x 0.468" ID, -906, Cl 6, 90 Duro

1шт.

Выбрано товаров: 27