Запчасти Case 580SL (8-048) - HAND HELD AUXILIARY HYDRAULICS, CONTROL CABLES TO AUX VALVE, MODELS W/31 OR 40 GALLON TANKS (08) - HYDRAULICS

Схема запчастей Case 580SL - (8-048) - HAND HELD AUXILIARY HYDRAULICS, CONTROL CABLES TO AUX VALVE, MODELS W/31 OR 40 GALLON TANKS (08) - HYDRAULICS
9
12
6
23
7
25
14
16
2a
10
18
13
2
3
17
15
5
27
24
8
11
4
27
28
26
1
29
FIT
1:1
100%

Артикул

Название

Примечание

Количество

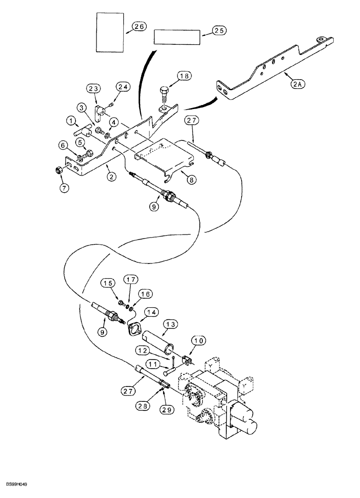
1

139227A1

BUTTON

KNOB push pull, detent

1шт.

2

191076A1

LARGE PLATE

PLATE, LARGE control panel, hand held auxiliary hydraulics, left hand mounting hole uses existing mounting hardware, if used

1шт.

2a

370377A1

PLATE

control panel, hand held auxiliary hydraulics, left hand mounting hole uses existing mounting hardware, if used

1шт.

3

614-8025

BOLT,Hex, M8 x 1.25 x 25mm, Cl 8.8, Full Thd

2шт.

4

895-11008

WASHER,9mm ID x 16mm OD x 1.6mm Thk

2шт.

5

614-10025

BOLT,Hex, M10 x 1.5 x 25mm, Cl 8.8

2шт.

8

139043A1

SUPPORT

BRACKET cable support

1шт.

9

123942A1

CABLE

push pull detent, lower auxiliary valve spool

1шт.

10

96790C2

CLEVIS COUPLING

cable, push pull cable end

1шт.

11

96846C2

AXLE PIN,7.87mm OD x 19.78mm L

clevis

1шт.

12

733-2012

COTTER PIN,M2 x 12

1шт.

13

1340478C1

HOUSING

cable, lower auxiliary valve spool

1шт.

14

1280055C2

FLANGE

cable support

1шт.

15

614-6020

BOLT,Hex, M6 x 1 x 20mm, Cl 8.8, Full Thd

Full threads

2шт.

16

895-11006

WASHER,6.6mm ID x 12mm OD x 1.6mm Thk

2шт.

17

892-11006

LOCK WASHER,M6

2шт.

18

814-10045

BOLT,Hex, M10 x 1.5 x 45mm, Cl 8.8

1шт.

23

139230A1

HANDLE

KNOB rotary, flow control

1шт.

24

83-1108

SET SCREW,Hex Soc, #10-24 x 1/2"

set, hex socket headless, No. 10 NC x 1/2 inch, cup point, flow control knob

1шт.

25

179683A1

DECAL

hand held auxilhary hydraulics, control panel plate, see Fig. 9-156 for decal

1шт.

26

192300A1

DECAL

remote auxiliary hydraulics, inside left hand door on side of steering wheel panel, see Fig. 9-156 for decal

1шт.

27

123943A1

CABLE

flow control, rotary, upper auxiliary valve spool

1шт.

28

84-2106

SET SCREW,Hex Soc, #10-32 x 3/8"

set, hex socket headless, No. 10 NF x 3/8 inch, cone point

1шт.

29

225-14210

NUT,#10-32

1шт.

7

829-1410

NUT,M10 x 1.5, Cl 10.9

2шт.

6

895-11010

WASHER,11mm ID x 20mm OD x 2mm Thk

2шт.

Выбрано товаров: 26