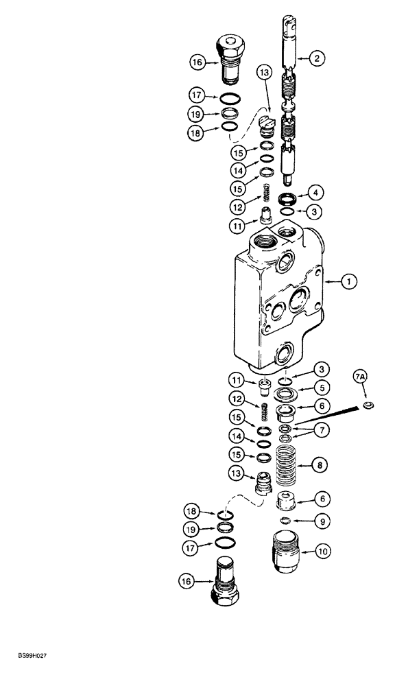
Запчасти Case 580SL (8-112) - BACKHOE CONTROL VALVE, DIPPER EXTENSION SECTION (08) - HYDRAULICS

Схема запчастей Case 580SL - (8-112) - BACKHOE CONTROL VALVE, DIPPER EXTENSION SECTION (08) - HYDRAULICS
13
3
10
4
13
19
17
11
15
14
18
3
5
1
8
2
12
19
7a
15
12
6
15
16
15
16
7
14
17
18
6
9
11
FIT
1:1
100%

Артикул

Название

Примечание

Количество

144324A4

HYD VALVE SECTION

ASSEMBLY, dipper extension, Includes: Refs. 1-19

1шт.

1

NSS

NOT SOLD SEPARAT

HOUSING dipper extension

1шт.

2

NSS

NOT SOLD SEPARAT

SPOOL dipper extension

1шт.

3

1994608C1

O-RING,0.737" ID x 0.943" OD x 0.103"

spool

2шт.

Included with seal kit, 1346105C2

1шт.

4

65457C1

SEAL,19.04mm ID x 25.5mm OD x 3.17mm Thk

oil, spool

1шт.

Included with seal kit, 1346105C2

1шт.

5

G102711

RETAINER COLLAR,19.3 mm ID x 32.97 mm OD

O-ring

1шт.

6

G33075

RETAINER,12.2mm ID, 27.9mm OD

SEAT centering spring

2шт.

7

G106410

SPACER

spool, 1/16 inch thick, if used

2шт.

7a

332753A1

SPACER

spool, 1/8 inch thick, if used

1шт.

8

1994596C1

SPRING

centering, purple, 2-15/16 inch free length, spool

1шт.

9

100-1647

SNAP RING,#47, Ext

Spool end

1шт.

10

G33080

CAP

centering spring, spool end

1шт.

1346219C3

VALVE, CHECK

ASSEMBLY, load, hollow poppet pin, Includes: Refs. 11-15

2шт.

11

1343777C1

VALVE POPPET,6.9mm ID x 17.5mm OD x 18.8mm L

hollow poppet pin with orifice, load check

1шт.

12

1346175C1

SPRING,Compression, 6.6mm OD x 21.93mm L

load check

1шт.

13

1343708C1

PLUG

load check

1шт.

14

238-6016

O-RING,0.07" Thk x 0.614" ID, -16, Cl 6, 90 Duro

1шт.

Included with seal kit, 1346105C2

1шт.

15

G103862

BACK-UP RING,15.77mm ID x 18.67mm OD x 1.32mm Thk

backup, plug O-ring

2шт.

Included with seal kit, 1346105C2

1шт.

G33122

PLUG,ORB

ASSEMBLY, relief, Includes: Refs. 16-19

2шт.

16

NSS

NOT SOLD SEPARAT

PLUG relief

1шт.

17

237-6012

O-RING,0.116" Thk x 0.924" ID, -912, Cl 6, 90 Duro

Plug

1шт.

Included with seal kit, 1346105C2

1шт.

18

238-6018

O-RING,0.07" Thk x 0.739" ID, -18, Cl 6, 90 Duro

Plug

1шт.

Included with seal kit, 1346105C2

1шт.

19

G35540

BACK-UP RING,19.43mm ID x 22.23mm OD x 1.32mm Thk

backup, small O-ring

1шт.

Included with seal kit, 1346105C2

1шт.

1346105C2

SEAL KIT

Includes: Refs. 3, 4, 14, 15, 17, 18 and 19, plus additional O-rings not required for this application

1шт.

Выбрано товаров: 31