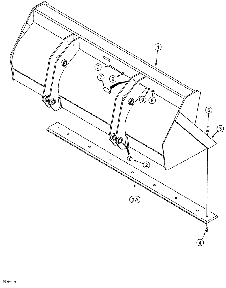
Запчасти Case 580SL (9-014) - LOADER LONG LIP BUCKET - P/N 141473A1 (09) - CHASSIS/ATTACHMENTS

Схема запчастей Case 580SL - (9-014) - LOADER LONG LIP BUCKET - P/N 141473A1 (09) - CHASSIS/ATTACHMENTS
9
5
1
8
7
3a
6
2
4
3
9
FIT
1:1
100%

Артикул

Название

Примечание

Количество

141473A1

BUCKET

ASSEMBLY, loader, without bucket teeth, order from Machinery Price List, 2083 mm (82 inch) wide, Includes: Refs. 1-9

1шт.

1

NSS

NOT SOLD SEPARAT

BUCKET loader, Includes: Refs. 2 & 3

1шт.

2

D129264

BUSHING,40.3mm ID x 50mm OD x 28mm L

bucket ear

8шт.

3

113457A1

CUTTING EDGE,Bolt On, 10 Holes, 12mm W x 2113mm L

Weld-On, blade mounting

1шт.

3a

112946A1

EDGE, CUTTING

center, 2083 mm (82 inch) bucket

1шт.

4

20-21232

PLOW BOLT,#3, 3/4" - 10 x 2", Gr 8

10шт.

5

429-1012

NUT,3/4"-10, G8

hex, NC

10шт.

6

828-20160

BOLT,Hex, M20 x 2.5 x 160mm, Cl 10.9

2шт.

7

142538A1

SPACER,21mm ID x 25mm OD x 105mm L

chain hook

2шт.

8

832-10420

NUT,M20 x 2.5, Cl 8

2шт.

9

896-11020

WASHER,22mm ID x 37mm OD x 4mm Thk

flat, 22 x 37 x 4 mm, hardened

4шт.

Выбрано товаров: 11