Запчасти Case 580SL (9-116) - LEFT HAND AND RIGHT HAND CAB DOORS, EXTERIOR (09) - CHASSIS/ATTACHMENTS

Схема запчастей Case 580SL - (9-116) - LEFT HAND AND RIGHT HAND CAB DOORS, EXTERIOR (09) - CHASSIS/ATTACHMENTS
15
15a
7
20
18
4
12
19
11
14
3
23
13
22
17
15b
6
1
9
16
21
8
5
10
2
FIT
1:1
100%

Артикул

Название

Примечание

Количество

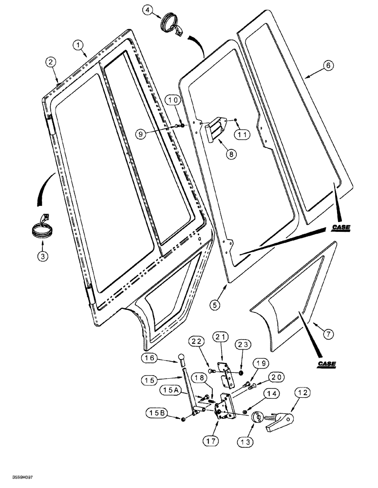
1

137869A3

DOOR ASSY.

FRAME right hand

1шт.

1a

137868A3

DOOR ASSY.

FRAME left hand, not shown, Includes: Ref. 2

1шт.

2

R53562

BRACKET

cable, welded to left hand or right hand door frame

1шт.

3

187582A2

SEAL,4585mm L

bulb type, with drain holes, 4585 mm (180-1/2 inch) long, with self adhesive

2шт.

4

R53444

SEAL,2688mm L

bulb type, 2689 mm (105-7/8 inch) long, left hand and right hand window frames

2шт.

5

R52882

GLASS

right hand door, rear window, tinted

1шт.

5a

R52881

GLASS

left hand door, rear, window, tinted, not shown

1шт.

6

R52880

GLASS

right hand door, front, tinted

1шт.

6a

R52879

GLASS

left hand door, front, tinted, not shown

1шт.

7

R52884

GLASS

right hand door, lower, tinted

1шт.

7a

R52883

GLASS

left hand door, lower, tinted, not shown

1шт.

8

R52917

HINGE

glass, door window

4шт.

9

142-103

SCREW,Phil Oval Hd, Csk, #10 - 24 x 3/4"

machine, oval Phillips, No. 10 NC x 3/4 inch, left hand and right hand door window hinge

12шт.

10

F64198

BUMPER,4.98mm ID x 7.92mm OD x 10.21mm L

Nylon, black, glass to hinge, left hand and right hand door window hinge

12шт.

11

F45165

SPECIAL NUT,#10-24

hex, self locking, special, No. 10 NC, Teflon coated, left hand and right hand door window hinge

12шт.

12

196675A2

HANDLE

right hand door, outer; Use With 86502201 Key

1шт.

12a

196673A2

HANDLE

left hand door, outer, not shown; Use With 86502201 Key

1шт.

86502201

IGNITION KEY

Door Handle

1шт.

13

F64342

GASKET,1.6mm Thk

door handle, left hand and right hand

2шт.

14

86625057

NUT,#10-24, GB

LH and RH handles

4шт.

255450A1

SET OF PARTS

KIT service, inner door handle, includes (1each) Ref. 15-15B, plus instructions

1шт.

15

255453A1

LEVER

inner left hand or right hand door latch handle

1шт.

15a

814-8045

BOLT,Hex, M8 x 1.25 x 45mm, Cl 8.8

1шт.

15b

832-10408

NUT,M8 x 1.25, Cl 8.8

1шт.

16

D135387

GRIP

KNOB lever, inner door latch

2шт.

17

R55000

LATCH ASSY.

door, right hand, rotary, replaces P/N 316959A1

1шт.

17a

R55001

LATCH ASSY.

door, lefthand, rotary, not shown, replaces P/N 316961A1, Includes: Ref. 18

1шт.

18

A180163

SPRING

extension, left hand or right hand door latch

1шт.

19

265-16512

SELF-TAP SCREW,Cross Oval Hd, #10 x 3/4"

self tapping, oval Phillips, No. 10-16 x 3/4 inch, left hand and right hand door latch

4шт.

20

137731A1

SELF-TAP SCREW,Cross Flat Hd, 1/4"-20 x 1"

machine, flat head Phillips, special, 1/4 NC x 1 inch, left hand and right hand door latch

8шт.

21

1977401C1

SUPPORT

BRACKET latch, right-hand rotary

1шт.

21a

1977402C1

SUPPORT

BRACKET latch, left-hand rotary, not shown

1шт.

22

443-13112

SCREW,Cross Flat Hd, 5/16"-18 x 3/4"

machine, flat Phillips, 5/16 NC x 3/4 inch

6шт.

23

231-5145

SERRATED NUT,Flg, USR, 5/16"-18

6шт.

Выбрано товаров: 34