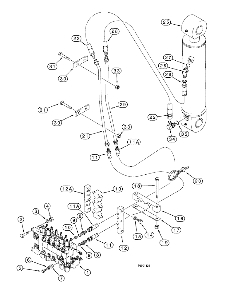
Запчасти Case 590SL (8-26) - BACKHOE DIPPER CYLINDER HYDRAULIC CIRCUIT (08) - HYDRAULICS

Схема запчастей Case 590SL - (8-26) - BACKHOE DIPPER CYLINDER HYDRAULIC CIRCUIT (08) - HYDRAULICS
22
15
34
21
30
31
11
11a
28
31
12a
30
20
22
26
9
4
27
33
5
8
11
1
9
12
14
10
33
7
19
17
3
25
11a
8
6
13
18
29
16
35
28
2
FIT
1:1
100%

Артикул

Название

Примечание

Количество

1

REF

INSTRUCTION

VALVE ASSEMBLY - backhoe control, for correct assembly and components, see figure 8-88 - 8-95A

1шт.

2

814-12045

BOLT,Hex, M12 x 1.75 x 45mm, Cl 8.8

- hex, 12 - 1.75 x 45 mm

2шт.

3

896-11012

WASHER,13.5mm ID x 24mm OD x 3mm Thk

2шт.

4

829-1412

NUT,M12, Cl 10.9

- hex, 12 mm - 1.75, class 10

2шт.

5

413-624

BOLT,Hex, 3/8" - 16 x 1-1/2", Gr 5

- hex, 3/8 NC x 1-1/2 inch

1шт.

6

D52275

WASHER,9.92mm ID x 31.75mm OD x 2.78mm Thk

- flat, special, 25/64 x 1-1/4 x 7/64 inch, hardened

1шт.

7

D52276

ISOLATOR,10.16mm ID x 28.07mm OD x mm L

INSULATOR - rubber

1шт.

8

218-5064

HYD CONNECTOR,1-1/16" - 12 Male JIC x 1-1/16" - 12 Male ORB

ADAPTER - straight, 1-1/16-12 inch flare x O-ring boss, dipper section upper and lower ports, Incl. Ref. 9

2шт.

9

237-6012

O-RING,0.116" Thk x 0.924" ID, -912, Cl 6, 90 Duro

12-1, 90 Duro, .924 ID x .116" Thk

1шт.

10

D142366

RESTRICTOR

- check, dipper section upper port

1шт.

11

194915A1

HOSE,19.05mm ID x 1360mm L

- 1360 mm (53-9/16 inch) long, includes hose guard and clamp, control valve through swing tower to boom

1шт.

11a

195063A1

HOSE,15.88mm ID x 1315mm L

- 1315 mm (51-25/32 inch) long, includes hose guard and clamp, to dipper cylinder rod end

1шт.

12

179404A1

CLAMP

- hose, right-hand outer

1шт.

12a

176268A1

CLAMP

- hose, left-hand outer

1шт.

13

176266A1

CLAMP

- hose, center

1шт.

14

614-8025

BOLT,Hex, M8 x 1.25 x 25mm, Cl 8.8, Full Thd

- hex, full threads, 8 - 1.25 x 25 mm

6шт.

15

892-11008

LOCK WASHER,8mm ID

WASHER, LOCK, M8

6шт.

16

175947A1

CLAMP

- hose, at swing tower

1шт.

17

132212A1

PLATE

- Hose clamp, at swing tower

1шт.

18

814-12100

BOLT,Hex, M12 x 1.75 x 100mm, Cl 8.8

2шт.

19

832-10412

NUT,M12 x 1.75, Cl 8

NUT, LOCK, M12 x 1.75, Cl 8

2шт.

20

L18337

CABLE TIE,9.95"-12.1" lg

STRAP - tie, 15 inch, nylon, retaining

1шт.

21

220278A1

TUBE

- to dipper cylinder closed end hose

1шт.

22

195115A1

HOSE,19.05mm ID x 750mm L

- 750 mm (29-17/32 inch) long, includes hose guard and clamp, dipper cylinder closed end

1шт.

25

140965A1

CYLINDER,Double Acting, 69.8mm Rod, 564.2mm Stroke

ASSEMBLY - 140 (5-1/2) ID x 564 mm (22-7/32 inch) stroke, dipper, parts list figure 8-138

1шт.

25

140965A1R

REMAN-HYD CYLINDER

590SL Series 2

1шт.

25

140965A1C

CORE-HYD CYLINDER

Return Number

1шт.

26

218-5108

ELBOW,90 Degree Elbow, 1-1/16" - 12 Male JIC x 1-1/16" - 12 Male ORB

90º, 1-1/16-12 inch flare x adj. O-ring boss, Incl. Ref. 27

1шт.

27

237-6012

O-RING,0.116" Thk x 0.924" ID, -912, Cl 6, 90 Duro

12-1, 90 Duro, .924 ID x .116" Thk

1шт.

28

144235A1

HOSE,15.88mm ID x 780mm L

- 780 mm (30-3/4 inch) long, dipper cylinder rod end

1шт.

29

179608A1

HYD TUBE,19.05 mm OD

TUBE - to dipper cylinder rod end hose

1шт.

30

182035A1

CLAMP

- dipper cylinder tubes to inner right-hand side of boom

2шт.

31

814-12080

BOLT,Hex, M12 x 1.75 x 80mm, Cl 8.8

4шт.

33

832-10412

NUT,M12 x 1.75, Cl 8

NUT, LOCK, M12 x 1.75, Cl 8

4шт.

34

218-5110

ELBOW,90 Degree Elbow, 1-5/16" - 12 Male JIC x 1-5/16" - 12 Male ORB

90º, 1-5/16-12 inch flare x adj. O-ring boss, dipper cylinder closed end, Incl. Ref. 35

1шт.

35

237-6016

O-RING,0.116" Thk x 1.171" ID, -916, Cl 6, 90 Duro

- 1-11/64 ID x 7/64 inch wide

1шт.

Выбрано товаров: 36