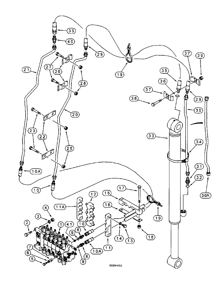
Запчасти Case 590SL (8-28) - BACKHOE BUCKET CYLINDER HYDRAULIC CIRCUIT, MODELS WITHOUT EXTENDABLE DIPPER (08) - HYDRAULICS

Схема запчастей Case 590SL - (8-28) - BACKHOE BUCKET CYLINDER HYDRAULIC CIRCUIT, MODELS WITHOUT EXTENDABLE DIPPER (08) - HYDRAULICS
39
11
4
32
28
33
16
26
5
31
8
3
17
1
18
19
37
7
34
35
21
13
10
9
35
36
20
12
9
25
10a
27
38
2
29
30
22
14
8
30a
15
19
40
6
41
10a
37
23
11a
29
10
FIT
1:1
100%

Артикул

Название

Примечание

Количество

1

REF

INSTRUCTION

VALVE ASSEMBLY - backhoe control, for correct assembly and components, see figure 8-88 - 8-91A

1шт.

2

814-12045

BOLT,Hex, M12 x 1.75 x 45mm, Cl 8.8

- hex, 12 - 1.75 x 45 mm

2шт.

3

896-11012

WASHER,13.5mm ID x 24mm OD x 3mm Thk

2шт.

4

829-1412

NUT,M12, Cl 10.9

- hex, 12 mm - 1.75, class 10

2шт.

5

413-624

BOLT,Hex, 3/8" - 16 x 1-1/2", Gr 5

- hex, 3/8 NC x 1-1/2 inch

1шт.

6

D52275

WASHER,9.92mm ID x 31.75mm OD x 2.78mm Thk

- flat, special, 25/64 x 1-1/4 x 7/64 inch, hardened

1шт.

7

D52276

ISOLATOR,10.16mm ID x 28.07mm OD x mm L

INSULATOR - rubber

1шт.

8

218-5064

HYD CONNECTOR,1-1/16" - 12 Male JIC x 1-1/16" - 12 Male ORB

ADAPTER - straight, 1-1/16-12 inch flare x O-ring boss, bucket section upper and lower ports, Incl. Ref. 9

2шт.

9

237-6012

O-RING,0.116" Thk x 0.924" ID, -912, Cl 6, 90 Duro

12-1, 90 Duro, .924 ID x .116" Thk

1шт.

10

195061A1

HOSE,15.88mm ID x 1235mm L

- 1235 mm (48-5/8 inch) long, includes hose guard and clamp, upper port control valve to bucket cylinder rod end

1шт.

10a

194916A1

HOSE,19.05mm ID x 1200mm L

- 1200 mm (47-1/4 inch) long, includes hose guard and clamp, lower port control valve to bucket cylinder closed end

1шт.

11

179404A1

CLAMP

- hose, right-hand outer

1шт.

11a

176268A1

CLAMP

- hose, left-hand outer

1шт.

12

176266A1

CLAMP

- hose, center

1шт.

13

614-8025

BOLT,Hex, M8 x 1.25 x 25mm, Cl 8.8, Full Thd

- hex, full threads, 8 - 1.25 x 25 mm

6шт.

14

892-11008

LOCK WASHER,8mm ID

WASHER, LOCK, M8

6шт.

15

175947A1

CLAMP

- hose, at swing tower

1шт.

16

132212A1

PLATE

- Hose clamp, at swing tower

1шт.

17

814-12100

BOLT,Hex, M12 x 1.75 x 100mm, Cl 8.8

2шт.

18

832-10412

NUT,M12 x 1.75, Cl 8

NUT, LOCK, M12 x 1.75, Cl 8

2шт.

19

L18337

CABLE TIE,9.95"-12.1" lg

STRAP - tie, 15 inch, nylon, retaining

1шт.

20

176362A1

HYD TUBE,19.05 mm OD

TUBE - right-hand side of boom, to bucket cylinder closed end

1шт.

21

176366A1

HYD TUBE,25.4 mm OD

TUBE - left-hand side of boom, to bucket cylinder rod end

1шт.

22

182035A1

CLAMP

- bucket cylinder tubes to inner sides of boom

4шт.

23

814-12080

BOLT,Hex, M12 x 1.75 x 80mm, Cl 8.8

8шт.

25

832-10412

NUT,M12 x 1.75, Cl 8

NUT, LOCK, M12 x 1.75, Cl 8

8шт.

26

221525A1

CLAMP,26mm ID

-Tube, boom

4шт.

27

814-12060

BOLT,Hex, M12 x 1.75 x 60mm, Cl 8.8

4шт.

28

832-10412

NUT,M12 x 1.75, Cl 8

NUT, LOCK, M12 x 1.75, Cl 8

4шт.

29

144499A1

HOSE

- 1210 mm (47-5/8 inch) long, includes hose guard and clamp, right-hand bucket tube on boom to bucket cylinder rod end tube

1шт.

30

256091A1

HYD TUBE,19.05 mm OD, 906, 58 mm Length

TUBE - bucket cylinder rod end, Replaces 136436A1, no longer available, order 314772A1 tube

1шт.

30a

314772A1

RIGID TUBE

Bucket cylinder rod end

1шт.

31

218-5064

HYD CONNECTOR,1-1/16" - 12 Male JIC x 1-1/16" - 12 Male ORB

ADAPTER - straight, 1-1/16-12 inch flare x O-ring boss, bucket cylinder rod end, Incl. Ref. 32

1шт.

32

237-6012

O-RING,0.116" Thk x 0.924" ID, -912, Cl 6, 90 Duro

12-1, 90 Duro, .924 ID x .116" Thk

1шт.

33

296434A1

CYLINDER,Double Acting, 69.8mm Rod, 872mm Stroke

ASSEMBLY - 95 (3-3/4) ID x 872 mm (34-5/16 inch) stroke, bucket, parts list figure 8-140

1шт.

33

296434A1R

REMAN-HYD CYLINDER

590SL Series 2

1шт.

33

296434A1C

CORE-HYD CYLINDER

Return Number

1шт.

34

214-1472

HOSE CLAMP,#72, 4.06" - 5", Type F Worm

CLAMP, HOSE, , Adj. #72, 4.06/5.00 Type F Worm

1шт.

35

141656A1

HOSE

- 1185 mm (46-21/32 inch) long, includes hose guard and clamps, left-hand bucket tube on boom to bucket cylinder closed end, Includes: Ref. 36

1шт.

36

237-6012

O-RING,0.116" Thk x 0.924" ID, -912, Cl 6, 90 Duro

12-1, 90 Duro, .924 ID x .116" Thk

1шт.

37

D40236

CLAMP

- hose

2шт.

38

814-10055

BOLT,Hex, M10 x 1.5 x 55mm, Cl 8.8

- hex, 10 - 1.5 x 55 mm

1шт.

39

832-10410

NUT,M10 x 1.5, Cl 8

NUT, LOCK, M10 x 1.5, Cl 8

1шт.

40

218-737

UNION,1 1/16"-12, 37 Degree x 1 1/16"-12, 37 Degree

CONNECTOR - straight, 1-1/16-12 inch flare

1шт.

41

182222A1

FITTING

RESTRICTOR - check, 4.36 mm orifice, bucket section upper port, if used

1шт.

Выбрано товаров: 45