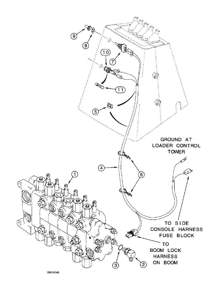
Запчасти Case 590SL (8-56) - BACKHOE BOOM LOCK HYDRAULIC, AND ELECTRICAL CIRCUIT, AT CONTROL TOWER AND BACKHOE VALVE (08) - HYDRAULICS

Схема запчастей Case 590SL - (8-56) - BACKHOE BOOM LOCK HYDRAULIC, AND ELECTRICAL CIRCUIT, AT CONTROL TOWER AND BACKHOE VALVE (08) - HYDRAULICS
3
9
2
7
5
10
11
4
8
1
6
FIT
1:1
100%

Артикул

Название

Примечание

Количество

198277A1

KIT

- backhoe boom lock, also includes parrts on figure 8-58, L111356 decal on figure 9-156 and an instruction sheet, order components separately, Includes: Ref. 1 - 11

1шт.

1

REF

INSTRUCTION

VALVE ASSEMBLY, backhoe control, for correct assembly and components, see figure 8-88 - 8-95A, for valve mounting see figure 8-22

1шт.

Not included in 198277A1 kit, purchase separately.

1шт.

2

189414A1

ELBOW

- 90 degree, adjustable, see figure 8-58 for attaching hose, Includes: Ref. 2

1шт.

3

237-6010

O-RING,0.097" Thk x 0.755" ID, -910, Cl 6, 90 Duro

10-1, 90 Duro, .755" ID x .097" Thk

1шт.

4

189601A1

HARNESS

- boom lock, at control tower to fuse block on side console harness

1шт.

5

L100659

CLIP

- harness

2шт.

6

L18337

CABLE TIE,9.95"-12.1" lg

STRAP - tie, 15 inch, nylon

2шт.

7

D67251

SWITCH

- toggle, boom lock

1шт.

8

L105735

PLATE ASSY.

PLATE - trim

1шт.

9

L101998

BOOT

- toggle switch

1шт.

10

376852R91

HOUSING

HOLDER - fuse, includes cap, at backhoe control tower

1шт.

11

223-26

FUSE,5 Amp, Type 3AG

- 3AG, 5 ampere, boom lock

1шт.

Выбрано товаров: 0