Запчасти Case 590SL (8-82) - LOADER CONTROL VALVE, OUTLET SECTION (08) - HYDRAULICS

Схема запчастей Case 590SL - (8-82) - LOADER CONTROL VALVE, OUTLET SECTION (08) - HYDRAULICS
4
5
2
3
1
FIT
1:1
100%

Артикул

Название

Примечание

Количество

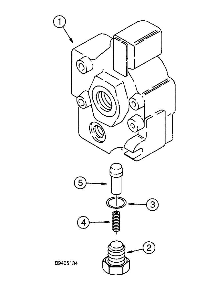
132004A2

HYD VALVE SECTION

SECTION ASSEMBLY - outlet, Includes: Ref. 1 - 5

1шт.

1

NSS

NOT SOLD SEPARAT

HOUSING - outlet section

1шт.

2

293787A1

PLUG,ORB

- load check, Replaces G109644

1шт.

3

237-6008

O-RING,0.087" Thk x 0.644" ID, -908, Cl 6, 90 Duro

8-1, 90 Duro, .644" ID x .087" Thk

1шт.

4

G109646

SPRING,Compression, 6.35mm OD x 38.35mm L

- load check

1шт.

5

283417A1

VALVE POPPET,7.14mm ID x 11.68mm OD x 25.4mm L

POPPET - load check

1шт.

Выбрано товаров: 6