Запчасти Case 590SL (9-25) - LOADER SELF-LEVELING CONTROL (09) - CHASSIS/ATTACHMENTS

Схема запчастей Case 590SL - (9-25) - LOADER SELF-LEVELING CONTROL (09) - CHASSIS/ATTACHMENTS
6
17
9
11
16
8
13
4
12
13
15
15
2
17
4
12
5
16
10
1
3
14
7
5
FIT
1:1
100%

Артикул

Название

Примечание

Количество

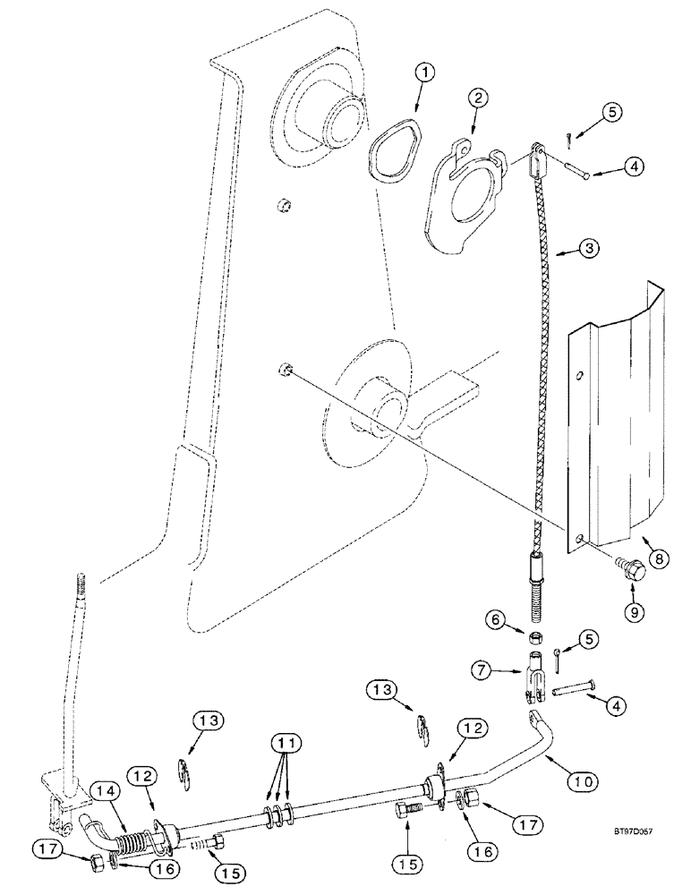
1

137283A1

WAVE WASHER,85.6mm ID x 109.22mm OD x 1.14mm Thk

- wave, at upright, loader arm pivot

1шт.

2

142404A1

CAM

- self-leveling

1шт.

3

193854A1

FLEXIBLE CABLE,654mm L, 5/16" ID, 5/16" - 24 RH Thd

CABLE - bucket level

1шт.

4

D149287

PIN,7.9mm OD x 26.72mm L

- Clevis, Special, 5/16 x 15/16 inch, hardened

2шт.

5

432-612

COTTER PIN,3/32" x 3/4"

PIN , SPLIT (COTTER), 3/32" x 3/4"

2шт.

6

425-115

NUT,5/16"-24, G5

- hex, 5/16 inch NF

1шт.

7

213-125

ADJUSTABLE CLEVIS,5/16" - 32

CLEVIS - adjustable, 5/16 inch NF

1шт.

8

139865A1

SHIELD

(Guard-cable)

1шт.

9

844-10020

BOLT,Hvy Hex, M10 x 20mm, Cl 8.8

- heavy hex flange, 10 - 1.5 x 20 mm

2шт.

128580A1

THREADED ROD,667mm L

ROD ASSEMBLY - bucket level, Includes: Ref. 10 - 12

1шт.

10

NSS

NOT SOLD SEPARAT

ROD - bucket level

1шт.

11

A30881

SEALING WASHER,19.45mm ID x 31.35mm OD

WASHER - special, hardened, flat, used as shim between bearing and snap ring

3шт.

12

L15401

BEARING,15.89mm ID

- pivot, self-aligning, 5/8 inch

2шт.

13

D95096

SNAP RING,M15.88 x 1.27mm Thk

- retaining, 5/8 inch, shaft retaining, special

2шт.

14

124721A1

SPRING,Extension, 19mm ID x 61mm L

- coil

1шт.

15

614-8025

BOLT,Hex, M8 x 1.25 x 25mm, Cl 8.8, Full Thd

- hex, full threads, 8 - 1.25 x 25 mm

4шт.

16

895-11008

WASHER,9mm ID x 16mm OD x 1.6mm Thk

- flat, 9 x 17 x 1.6 mm

4шт.

17

829-1408

NUT,Hex, M8 x 1.25, Cl 10.9

4шт.

Выбрано товаров: 18