Запчасти Case 590SL (2-10) - MUFFLER AND EXHAUST SYSTEM (02) - ENGINE

Схема запчастей Case 590SL - (2-10) - MUFFLER AND EXHAUST SYSTEM (02) - ENGINE
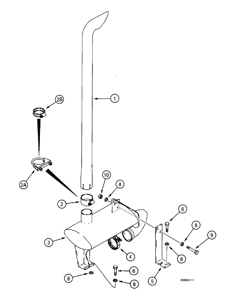
3
2b
2
6
6
8
2a
9
8
8
5
1
8
10
4
8
FIT
1:1
100%

Артикул

Название

Примечание

Количество

1

275967A2

PIPE, EXHAUST SYSTEM

PIPE - exhaust, muffler extension, no longer available, order 330013A1 kit

1шт.

2

176437A1

CLAMP,63.5mm - mm

- includes hardware, if used

1шт.

2a

A13240

CLAMP,2-5/8" ID

- two piece, includes hardware, U-bolt, no longer used, replaced by 360663A1

1шт.

2b

360663A1

CLAMP,7.06mm

- includes hardware, if used

1шт.

3

227293A1

MUFFLER

- engine exhaust

1шт.

4

A170467

CLAMP,72mm ID

- includes hardware, muffler, Serial Range: tube-engine

1шт.

5

225033A1

SUPPORT

BRACKET - muffler, front

1шт.

8

896-11010

WASHER,11mm ID x 21mm OD x 2.5mm Thk

10шт.

330013A1

PACKAGE

KIT - exhaust stack, includes 275967A2 pipe, 360663A1 clamp and instructions

1шт.

6

627-10030

BOLT,Hex, M10 x 1.5 x 30mm, Cl 10.9, Full Thd

4шт.

9

627-10030

BOLT,Hex, M10 x 1.5 x 30mm, Cl 10.9, Full Thd

2шт.

10

829-1410

NUT,M10 x 1.5, Cl 10.9

2шт.

Выбрано товаров: 12