Запчасти Case 590SL (9-50) - UNIVERSAL BACKHOE BUCKETS, 914MM (36") WIDE, 914MM (36") WIDE TRENCHING BUCKETS & TEETH- HEAVY DUTY (09) - CHASSIS/ATTACHMENTS

Схема запчастей Case 590SL - (9-50) - UNIVERSAL BACKHOE BUCKETS, 914MM (36") WIDE, 914MM (36") WIDE TRENCHING BUCKETS & TEETH- HEAVY DUTY (09) - CHASSIS/ATTACHMENTS
10
5
8
4
12
10
3
9
7
12
6
8
11
5
2
1
7
6
FIT
1:1
100%

Артикул

Название

Примечание

Количество

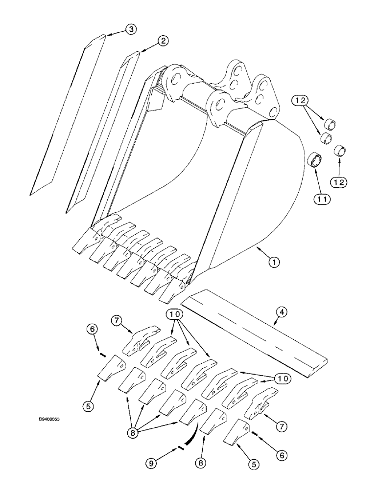
1

D150365

BUCKET

ASSEMBLY - heavy duty trenching, with 7 teeth, order from Machinery Price List, 914 mm (36 inch) wide, Includes: Ref. 2 - 12

1шт.

2

D146421

EDGE, CUTTING

EDGE - cutting, right-hand side, bucket

1шт.

3

D146420

EDGE, CUTTING

EDGE - cutting, left-hand side, bucket

1шт.

4

D145062

EDGE, CUTTING,901.8mm W x 165.1mm L

EDGE - cutting, center, 914 mm (36 inch) bucket

1шт.

D139851

BUCKET TOOTH

TOOTH, BUCKET, Assy - outer corners, Includes Ref 5 - 7

2шт.

5

D51750

BUCKET TOOTH POINT

POINT - tooth, outer corners

1шт.

6

245466A1

RETAINER,Flexpin, Bucket Tooth

PIN - flex, Outer point and shank

1шт.

7

D138157

SHANK

- tooth, outer corners

1шт.

D139849

BUCKET TOOTH

TOOTH ASSEMBLY - center, Includes Ref 8 - 10

5шт.

8

D51750

BUCKET TOOTH POINT

POINT - tooth, center

1шт.

9

245466A1

RETAINER,Flexpin, Bucket Tooth

PIN - flex, Center point and shank

1шт.

10

D48212

SHANK

- tooth, center

1шт.

11

D37495

BUSHING,44.76mm ID x 57.15mm OD x 31.75mm L

- 1-3/4 x 2-1/4 x 1-1/4 inch

2шт.

12

D30933

BUSHING,38.41mm ID x 47.63mm OD x 31.75mm L

- 1-1/2 x 1-7/8 x 1-1/4 inch

6шт.

Выбрано товаров: 14