Запчасти Case 590SL (2-42) - CRANKSHAFT, 4T-390 EMISSIONS CERTIFIED ENGINE (02) - ENGINE

Схема запчастей Case 590SL - (2-42) - CRANKSHAFT, 4T-390 EMISSIONS CERTIFIED ENGINE (02) - ENGINE
26
13
11
11
15
14
11
8
21
7
27
12
11
23
18
1
20
19
16
10
11
25
12
22
24
28
3
2
17
5
19
9
6
4
FIT
1:1
100%

Артикул

Название

Примечание

Количество

JR908031

CRANKCASE

CRANKSHAFT - engine, remanufactured, North America only, component parts shown on this page do not apply to the remanufactured assembly, for service order J908031 crankshaft assembly, Ref. 1, Includes: Ref. 2 and 3

1шт.

J929036R

REMAN-CRANKSHAFT

590SL SERIES 2 EMISSIONS (3/98-), Reman for New P/N JR908031

1шт.

J929036C

CORE-CRANKSHAFT

Return Number

1шт.

JC908031

CORE-CRANKSHAFT

RETURN NUMBER - use this part number to return crankshaft for credit when using a remanufactured assembly, Includes: Ref. 2 and 3

1шт.

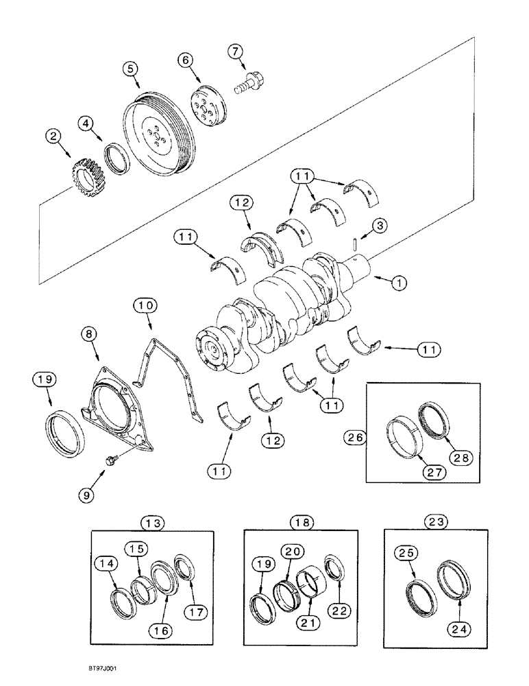
1

J908031

CRANKSHAFT

ASSEMBLY - engine, Includes: Ref. 2 and 3

1шт.

J929036R

REMAN-CRANKSHAFT

590SL SERIES 2, EMISSIONS (3/98-), Reman for New P/N J908031

1шт.

J929036C

CORE-CRANKSHAFT

Return Number

1шт.

2

J929027

PINION

GEAR - crankshaft

1шт.

3

J904483

PIN,6.01mm OD x 8mm L

- dowel

1шт.

4

NSS

NOT SOLD SEPARAT

SEAL - oil, crankshaft front, order item 13 kit

1шт.

5

J914494

PULLEY,181.25mm OD

- crankshaft vibration damper

1шт.

6

J905820

ADAPTER

FLANGE - adapter, pulley

1шт.

7

J903857

BOLT,Hex, M12 x 1.25 x 36mm

- hex flange, special, 12 - 1.25 x 36 mm

4шт.

8

J921043

REAR COVER

RETAINER - seal, rear cover

1шт.

9

845-6015

BOLT,Hvy Hex, M6 x 15mm, Cl 8.8

6шт.

10

J928493

GASKET

- rear cover retainer

1шт.

11

A77405

CRANKSHAFT BEARING

BEARING - main, upper and lower set, standard

4шт.

11

A77472

BEARING SET

BEARING - main, upper and lower set, 0.25 mm undersize

4шт.

11

A77474

BEARING SET

BEARING - main, upper and lower set, 0.50 mm undersize

4шт.

11

A77476

BEARING SET

BEARING - main, upper and lower set, 0.75 mm undersize

4шт.

11

A77478

BEARING SET

BEARING - main, upper and lower set, 1.00 mm undersize

4шт.

12

A77896

BEARING SET

BEARING - main thrust, upper and lower set, standard, replaces A77406 bearing

1шт.

12

A77473

THRUST BEARING

BEARING - main thrust, upper and lower set, 0.25 mm undersize

1шт.

12

A77475

THRUST BEARING

BEARING - main thrust, upper and lower set, 0.50 mm undersize

1шт.

12

A77477

THRUST BEARING

BEARING - main thrust, upper and lower set, 0.75 mm undersize

1шт.

12

A77479

THRUST BEARING

BEARING - main thrust, upper and lower set, 1.00 mm undersize

1шт.

12

A77841

THRUST BEARING

BEARING - main thrust, upper and lower set, 0.50 mm undersize, 0.50 mm oversize thrust

1шт.

12

A77840

THRUST BEARING

BEARING - main thrust, upper and lower set, 1.00 mm undersize, 1.00 mm oversize thrust

1шт.

13

A77889

SEAL PACKAGE

KIT - oil seal, crankshaft front, Includes: Ref. 14 - 17

1шт.

14

NSS

NOT SOLD SEPARAT

SEAL - oil, front

1шт.

15

NSS

NOT SOLD SEPARAT

TOOL - installation

1шт.

16

NSS

NOT SOLD SEPARAT

TOOL - installation

1шт.

17

NSS

NOT SOLD SEPARAT

SHIELD - dust

1шт.

18

A77890

SEAL PACKAGE

KIT - oil seal, crankshaft front, includes wear sleeve, Includes: Ref. 19 - 22

1шт.

19

NSS

NOT SOLD SEPARAT

SEAL - oil, front

1шт.

20

NSS

NOT SOLD SEPARAT

SLEEVE - wear, not shown

1шт.

21

NSS

NOT SOLD SEPARAT

TOOL - installation

1шт.

22

NSS

NOT SOLD SEPARAT

SHIELD - dust

1шт.

23

J934486

SERVICE KIT

KIT - oil seal, crankshaft rear, replaces A77809 and J353978 kit, Includes: Ref. 24 and 25

1шт.

24

NSS

NOT SOLD SEPARAT

TOOL - installation

1шт.

25

NSS

NOT SOLD SEPARAT

SEAL - oil, rear

1шт.

26

A77810

SERVICE KIT

KIT - oil seal, crankshaft rear, includes wear sleeve, Includes: Ref. 27 and 28

1шт.

27

NSS

NOT SOLD SEPARAT

SLEEVE - wear

1шт.

28

NSS

NOT SOLD SEPARAT

SEAL - oil, rear

1шт.

Выбрано товаров: 44