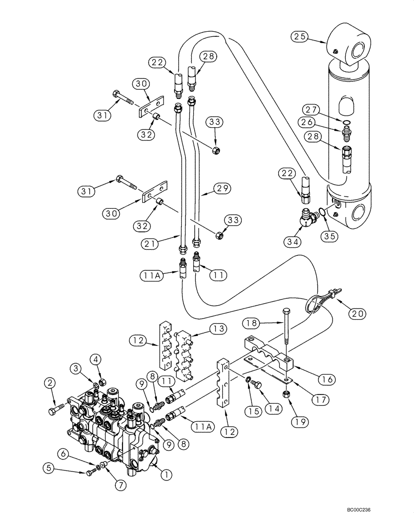
Запчасти Case 580SM (08-11) - HYDRAULICS - CYLINDER, BACKHOE DIPPER (08) - HYDRAULICS

Схема запчастей Case 580SM - (08-11) - HYDRAULICS - CYLINDER, BACKHOE DIPPER (08) - HYDRAULICS
26
14
6
12
12
21
29
13
22
9
34
25
31
11
11a
27
9
7
8
2
33
8
17
19
3
35
30
11a
30
18
15
20
28
1
22
32
28
11
32
31
4
16
33
5
FIT
1:1
100%

Артикул

Название

Примечание

Количество

1

REF

INSTRUCTION

Valve Assy; Control, Backhoe Control Valve; For Correct Assembly and Components, See Figure(s) 08-36 - 08-39

1шт.

2

814-12045

BOLT,Hex, M12 x 1.75 x 45mm, Cl 8.8

2шт.

3

896-11012

WASHER,13.5mm ID x 24mm OD x 3mm Thk

2шт.

4

829-1412

NUT,M12, Cl 10.9

2шт.

5

614-10035

BOLT,Hex, M10 x 1.5 x 35mm, Cl 8.8, Full Thd

1шт.

6

496-41041

WASHER,13/32" x 1 1/8" x .134"

1шт.

7

D52276

ISOLATOR,10.16mm ID x 28.07mm OD x mm L

1шт.

8

218-5064

HYD CONNECTOR,1-1/16" - 12 Male JIC x 1-1/16" - 12 Male ORB

Incl. Ref 9

2шт.

9

237-6012

O-RING,0.116" Thk x 0.924" ID, -912, Cl 6, 90 Duro

Boss Seal

1шт.

11

393378A1

HOSE ASSY.,15.88mm ID x 1248mm L

1248 mm (49-5/32 in); Upper Valve Port

1шт.

11a

393378A1

HOSE ASSY.,15.88mm ID x 1248mm L

1248 mm (49-5/32 in); Lower Valve Port

1шт.

12

143439A1

CLAMP

2шт.

13

176226A1

CLAMP

1шт.

14

614-8025

BOLT,Hex, M8 x 1.25 x 25mm, Cl 8.8, Full Thd

6шт.

15

892-11008

LOCK WASHER,8mm ID

6шт.

16

373833A1

CLAMP

1шт.

17

132212A1

PLATE

1шт.

18

814-12100

BOLT,Hex, M12 x 1.75 x 100mm, Cl 8.8

2шт.

19

832-10412

NUT,M12 x 1.75, Cl 8

2шт.

20

L18337

CABLE TIE,9.95"-12.1" lg

CABLE STRAP 15 in

1шт.

21

142126A1

HYD TUBE,19.05 mm OD, 726 mm Length

1шт.

22

193793A1

HOSE,15.88mm ID x 660mm L

660 mm (26 in)

1шт.

25

183795A3

CYLINDER ASSY.

127 ID x 583 mm strk; Dipper Cylinder; See Figure 08-60

1шт.

25

183795A4R

REMAN-HYD CYLINDER

Reman for New PN 183795A3

1шт.

25

183795A4C

CORE-HYD CYLINDER

Return Number

1шт.

26

218-5064

HYD CONNECTOR,1-1/16" - 12 Male JIC x 1-1/16" - 12 Male ORB

Incl. Ref 27

1шт.

27

237-6012

O-RING,0.116" Thk x 0.924" ID, -912, Cl 6, 90 Duro

Boss Seal

1шт.

28

397782A1

HYDRAULIC HOSE,15.88mm ID x 780mm L

780 mm (30-3/4 in)

1шт.

29

142124A1

TUBE,19.05 mm OD, 784.2 mm Length

1шт.

30

133605A1

CLAMP

2шт.

31

814-12080

BOLT,Hex, M12 x 1.75 x 80mm, Cl 8.8

4шт.

32

132930A1

SPACER

Replaces 360672A1

4шт.

33

832-10412

NUT,M12 x 1.75, Cl 8

4шт.

34

218-5108

ELBOW,90 Degree Elbow, 1-1/16" - 12 Male JIC x 1-1/16" - 12 Male ORB

Incl. Ref 35

1шт.

35

237-6012

O-RING,0.116" Thk x 0.924" ID, -912, Cl 6, 90 Duro

Boss Seal

1шт.

Выбрано товаров: 35