Запчасти Case 580SM (08-16) - HYDRAULICS - HAND HELD AUXILIARY (MODELS WITH 31 GALLON FUEL TANK) (08) - HYDRAULICS

Схема запчастей Case 580SM - (08-16) - HYDRAULICS - HAND HELD AUXILIARY (MODELS WITH 31 GALLON FUEL TANK) (08) - HYDRAULICS
14
2
6
8
15
1
12
10
1
2
17
12
18
9
17
11
1
7
14
20
4
21
3
4
16
13
19
16
FIT
1:1
100%

Артикул

Название

Примечание

Количество

REF

INSTRUCTION

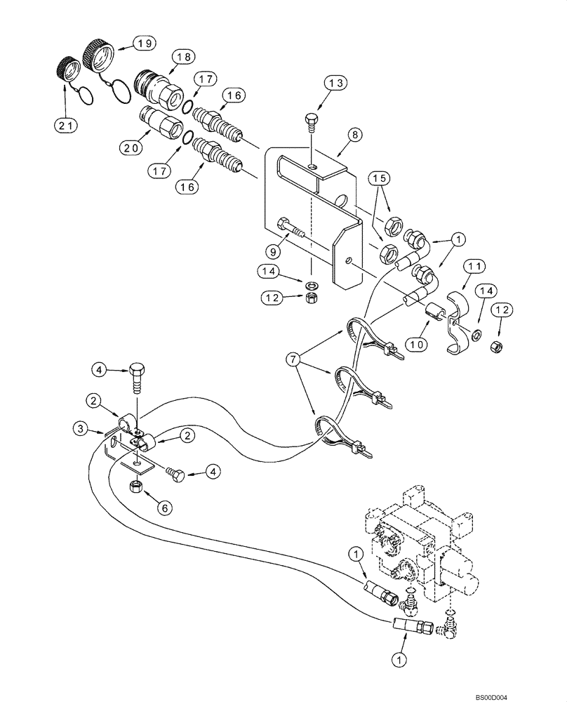
Auxiliary Valve To Quick Disconnect Couplings

1шт.

1

191215A1

HOSE

2460 mm (96-7/8 in); For Attaching Parts, See Figure 08-15

2шт.

2

D34033

CLAMP

1-3/16 ID

2шт.

3

180318A1

SUPPORT

1шт.

4

614-10025

BOLT,Hex, M10 x 1.5 x 25mm, Cl 8.8

1шт.

6

829-1410

NUT,M10 x 1.5, Cl 10.9

1шт.

7

L18337

CABLE TIE,9.95"-12.1" lg

CABLE STRAP 15 in

3шт.

8

370452A1

BRACKET

1шт.

9

827-10050

BOLT,Hex, M10 x 1.5 x 50mm, Cl 10.9

1шт.

10

131600A1

SPACER

1шт.

11

191075A1

FIXING BRACKET

1шт.

12

829-1410

NUT,M10 x 1.5, Cl 10.9

2шт.

13

614-10025

BOLT,Hex, M10 x 1.5 x 25mm, Cl 8.8

1шт.

15

218-1256

BHD LOCK NUT,Blkhd, 1 1/16"-12

2шт.

16

126155A1

FITTING

1-1/16 blkhd fl x Or; Incl. Ref 17

2шт.

17

237-6012

O-RING,0.116" Thk x 0.924" ID, -912, Cl 6, 90 Duro

Boss Seal

2шт.

18

122179A1

COUPLING, BREAK AWAY

Quick Disconnect Coupling; Female; Component Parts Not Serviced Separately

1шт.

19

137343A1

PLUG

Female Coupling; Aluminum; If Used

1шт.

19

193261A1

PLUG

Female Coupling; Black Rubber; If Used

1шт.

20

122178A2

COUPLING, BREAK AWAY

Quick Disconnect Coupling; Male; Component Parts Not Serviced Separately

1шт.

21

137344A1

PLUG

Male Coupling; Aluminum; If Used

1шт.

21

193262A1

PLUG

Male Coupling; Black Rubber; If Used

1шт.

14

895-11010

WASHER,11mm ID x 20mm OD x 2mm Thk

11 x 21 x 2 mm

2шт.

Выбрано товаров: 23