Запчасти Case 580SM (09-37) - RADIATOR WRAPPER (09) - CHASSIS/ATTACHMENTS

Схема запчастей Case 580SM - (09-37) - RADIATOR WRAPPER (09) - CHASSIS/ATTACHMENTS
2
9
7
5
1
11
3
13
4
12
8
10
6
9
7
FIT
1:1
100%

Артикул

Название

Примечание

Количество

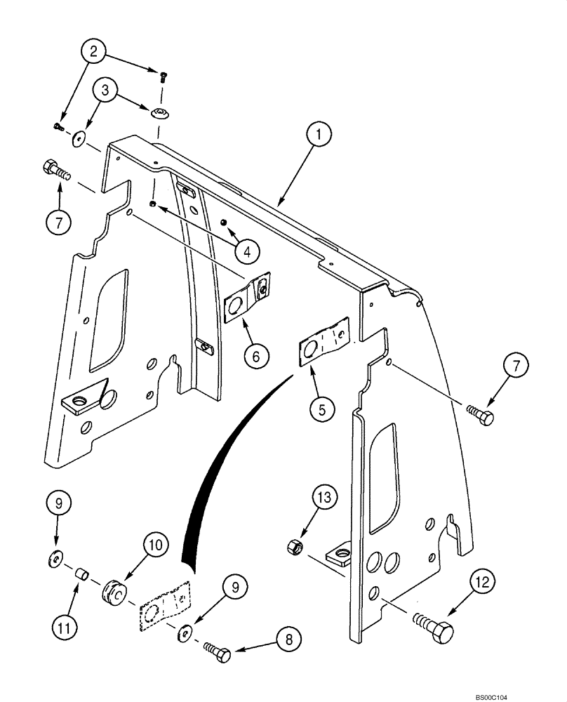
1

363388A1

SHROUD ASSY.

1шт.

2

440-11010

SCREW,Phillips Drive, Pan HD, #10 - 24 x 5/8"

4шт.

3

109879A1

SPACER,5.5mm ID x 30mm OD

Hood

4шт.

4

86625057

NUT,#10-24, GB

4шт.

5

176952A1

LARGE PLATE

PLATE, LARGE Radiator; Right-Hand

1шт.

6

176957A1

LARGE PLATE

PLATE, LARGE Radiator; Left-Hand

1шт.

7

614-10020

BOLT,Hex, M10 x 1.5 x 20mm, Cl 8.8, Full Thd

2шт.

8

614-10035

BOLT,Hex, M10 x 1.5 x 35mm, Cl 8.8, Full Thd

2шт.

9

K691987

WASHER,10.5mm ID x 30mm OD x 3.0mm Thk

4шт.

10

D132895

GROMMET

2шт.

11

D146035

SPACER,10.31mm ID x 16mm OD x 15.5mm L

2шт.

12

614-20035

BOLT,Hex, M20 x 2.5 x 35mm, Cl 8.8, Full Thd

M20 x 35

4шт.

13

829-1420

NUT,M20, Cl 10

4шт.

Выбрано товаров: 13