Запчасти Case 580SM (33.202.09) - CYLINDER ASSY - BRAKE MASTER (33) - BRAKES & CONTROLS

Схема запчастей Case 580SM - (33.202.09) - CYLINDER ASSY - BRAKE MASTER (33) - BRAKES & CONTROLS
3
3
1
2
1
FIT
1:1
100%

Артикул

Название

Примечание

Количество

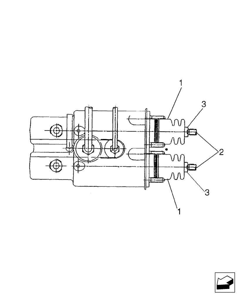
87714038

MASTER CYLINDER,130.25mm Stroke

Incl. Ref 1 - 3

1шт.

87714038R

REMAN-MASTER CYLINDE

580SM, 580SM+, Both SERIES 3 LOADER BACKHOE TIER 3 (NA) (2/08-)

1шт.

87714038C

CORE-MASTER CYLINDER

Return Number

1шт.

1

87716969

BOOT

2шт.

2

87716970

CLEVIS,M10 x 1.5mm x 53.5mm L

2шт.

3

829-1410

NUT,M10 x 1.5, Cl 10.9

2шт.

Выбрано товаров: 6