Запчасти Case 580SM (55.100.69) - ELECTRICAL - TRANSMISSION, POWERSHIFT (55) - ELECTRICAL SYSTEMS

Схема запчастей Case 580SM - (55.100.69) - ELECTRICAL - TRANSMISSION, POWERSHIFT (55) - ELECTRICAL SYSTEMS
4
14
20
19
13
19
5
3
6
2
9
17
2
16
2
18
12
10
11
3
1
8
17
7
1
15
FIT
1:1
100%

Артикул

Название

Примечание

Количество

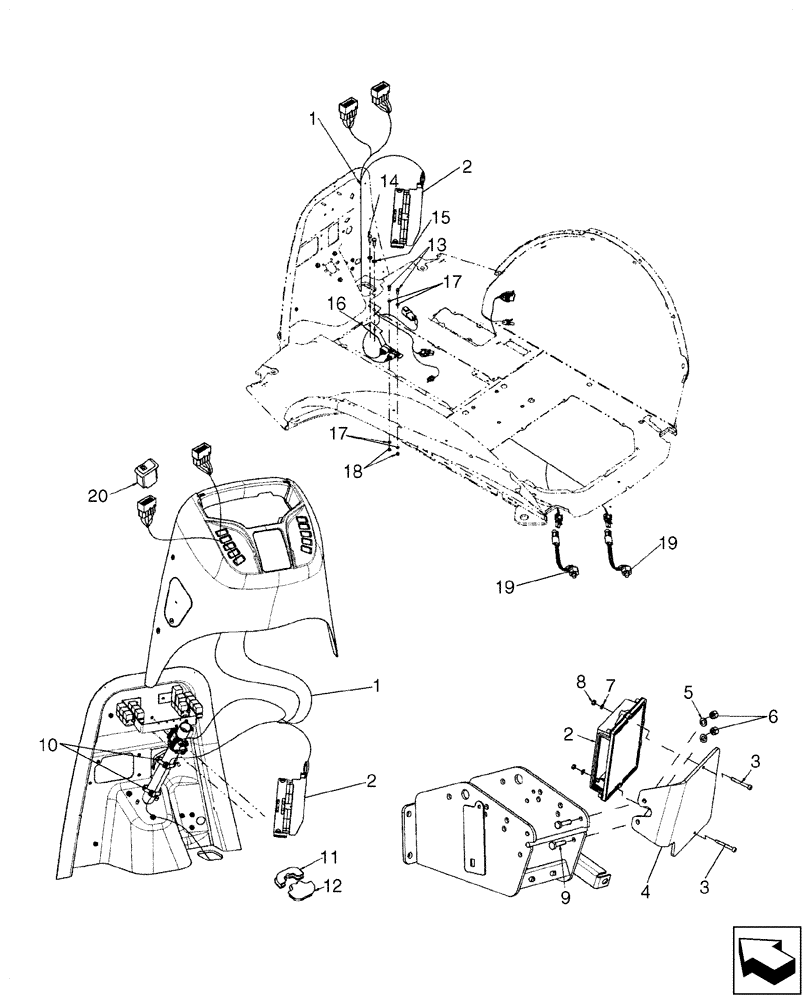
1

87705742

WIRE HARNESS

Powershift Transmission

1шт.

2

87722874

ECU

Controller, Transmission; Replaces 87588878

1шт.

2

84208926R

REMAN ELECT CONTROL

Remanufactured Transmission Control Unit. Reman for PN 87722874

1шт.

2

84208926C

CORE-ELECTRONIC CONT

Return Number, ELECTRONIC CONTROL UNIT

1шт.

3

864-5040

HEX SOC SCREW,M5 x 40mm, Cl 8.8

2шт.

4

87644491

BRACKET

1шт.

5

895-11008

WASHER,9mm ID x 16mm OD x 1.6mm Thk

2шт.

6

829-1408

NUT,Hex, M8 x 1.25, Cl 10.9

2шт.

7

895-11005

WASHER,5.5mm ID x 10mm OD x 1mm Thk

2шт.

8

824-1405

NUT,M5, Cl 5

2шт.

9

614-8030

BOLT,Hex, M8 x 1.25 x 30mm, Cl 8.8, Full Thd

2шт.

10

L11541

CABLE TIE,203.2mm L, Nylon

CABLE STRAP

2шт.

11

397443A2

SEAL,110mm L

Shift Lever Hole Plug

1шт.

12

397493A2

SEAL,106mm L

Shift Lever Hole Plug

1шт.

13

614-8020

BOLT,Hex, M8 x 1.25 x 20mm

2шт.

14

614-10035

BOLT,Hex, M10 x 1.5 x 35mm, Cl 8.8, Full Thd

2шт.

15

895-11010

WASHER,11mm ID x 20mm OD x 2mm Thk

2шт.

16

87712564

BRACKET

1шт.

17

895-11008

WASHER,9mm ID x 16mm OD x 1.6mm Thk

4шт.

18

829-1408

NUT,Hex, M8 x 1.25, Cl 10.9

2шт.

19

D138955

SWITCH

Pressure; Stop Lamp

2шт.

20

87654515

SWITCH

Auto To Manual

1шт.

231520A2

SWITCH

Shuttle Shift, Transmission, Forward/Neutral/Reverse

1шт.

Выбрано товаров: 0