Запчасти Case 580SM (55.301.07) - BATTERY, DUAL - COLD START (55) - ELECTRICAL SYSTEMS

Схема запчастей Case 580SM - (55.301.07) - BATTERY, DUAL - COLD START (55) - ELECTRICAL SYSTEMS
21
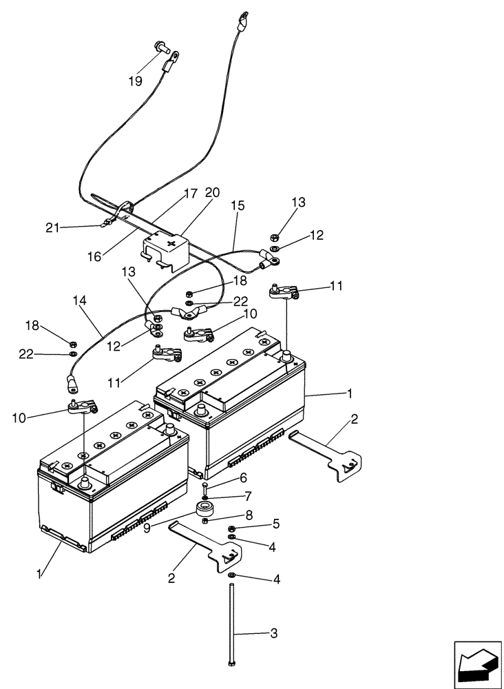
1
4
17
16
19
6
9
2
12
2
1
10
14
7
15
4
8
12
20
22
13
13
11
3
18
5
18
22
11
10
FIT
1:1
100%

Артикул

Название

Примечание

Количество

1

87403835

WET BATTERY,Group 49, 12V, 850CCA

12V; Used In Production, For Service Order B4960W Through Ship Direct

2шт.

2

87653377

BRACKET

Tie Down

2шт.

3

87522766

BOLT,Hex, M8 x 220mm, Cl 8.8

M8 x 220

2шт.

4

895-11008

WASHER,9mm ID x 16mm OD x 1.6mm Thk

4шт.

5

832-10408

NUT,M8 x 1.25, Cl 8.8

2шт.

6

614-6025

BOLT,Hex, M6 x 1 x 25mm, Cl 8.8, Full Thd

1шт.

7

895-11006

WASHER,6.6mm ID x 12mm OD x 1.6mm Thk

1шт.

8

832-10406

NUT,M6 x 1, Cl 8

1шт.

9

87671746

BUMPER,Neoprene

1шт.

10

87735578

TERMINAL CONNECTOR,5/16 - 18 Stud

Battery Cable Stud, Negative

2шт.

11

87735577

TERMINAL CONNECTOR,3/16 - 18 Stud

Battery Cable Stud, Positive

2шт.

12

495-11041

WASHER,0.406" ID x 0.812" OD x 0.065" W

2шт.

13

425-106

NUT,3/8"-16, Cl 5

2шт.

14

87610682

NEG BATTERY CABLE,485mm L

Jumper

1шт.

15

87610681

POS BATTERY CABLE

Jumper

1шт.

16

87610680

NEG BATTERY CABLE,1200mm L

1шт.

17

87610679

POS BATTERY CABLE

1шт.

18

425-105

NUT,5/16"-18, G5

2шт.

19

844-10025

BOLT,Hex, M10 x 25mm, Cl 8.8

2шт.

20

87664021

COVER

Protective; Positive Battery

2шт.

21

L18337

CABLE TIE,9.95"-12.1" lg

CABLE STRAP

3шт.

22

495-11034

WASHER,5/16", SAE

2шт.

Выбрано товаров: 22