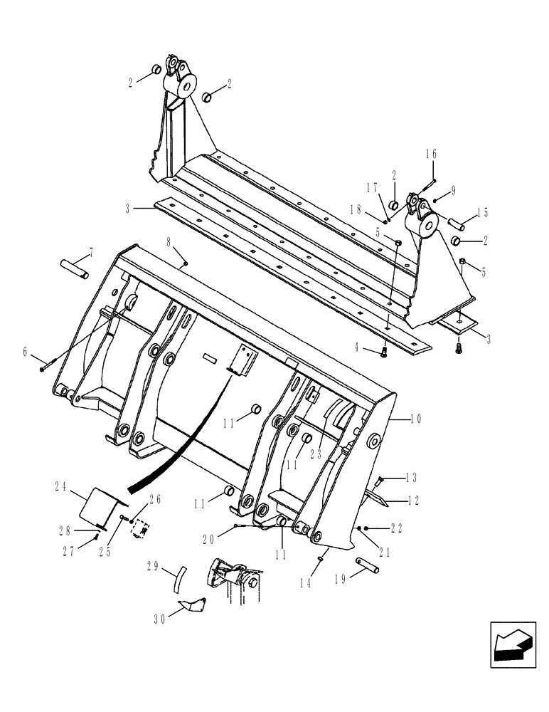
Запчасти Case 580SM (82.100.02[01]) - BUCKET, LOADER CLAM (82 IN) (580SM) (82) - FRONT LOADER & BUCKET

Схема запчастей Case 580SM - (82.100.02[01]) - BUCKET, LOADER CLAM (82 IN) (580SM) (82) - FRONT LOADER & BUCKET
7
12
19
6
5
11
9
15
29
2
17
25
24
11
13
14
28
11
11
26
21
2
30
5
2
27
3
4
20
16
18
10
3
8
22
2
23
FIT
1:1
100%

Артикул

Название

Примечание

Количество

87455509

BUCKET

2083 mm (82 in); With Hydraulics; Includes 376288A2 Bucket Assembly, Ref 1 - 28, Ref 1 - 29; Order Through Parts Marketing

1шт.

NSS

NOT SOLD SEPARAT

BUCKET ASSEMBLY 376288A2; 2083 mm (82 in); Without Hydraulics; Includes 411668A1 Bucket and (2) Ref 7 Pins; Order Through Parts Marketing

1шт.

411668A1

BUCKET

2083 mm (82 in; Without Hydraulics; Incl. Ref 1 - 6, 8 - 14

1шт.

175156A1

CLAMSHELL BUCKET

Incl Ref 1, 2

1шт.

1

NSS

NOT SOLD SEPARAT

CLAM ASSY

1шт.

2

D31140

BUSHING,38.33mm ID x 47.63mm OD x 25.4mm L

4шт.

3

142300A1

CUTTING EDGE,Bolt On, 10 Holes, 19mm W x 2083mm L

2шт.

4

20-21232

PLOW BOLT,#3, 3/4" - 10 x 2", Gr 8

20шт.

5

29-1012

NUT,3/4"-10, G8

20шт.

6

844-10110

BOLT,Hvy Hex, M10 x 110mm, Cl 8.8

2шт.

7

D51391

PIN,15mm OD x 74mm L

2шт.

8

832-10410

NUT,M10 x 1.5, Cl 8

2шт.

9

219-1

LUBE NIPPLE,1/8" - 27 NPTF

2шт.

376286A2

BUCKET

BLADE, Incl. Ref 10, 11

1шт.

10

NSS

NOT SOLD SEPARAT

BLADE ASSY Dozer

1шт.

11

D129264

BUSHING,40.3mm ID x 50mm OD x 28mm L

8шт.

12

121920A1

CUTTING EDGE,Bolt On, 10 Holes, 12.7mm W x 2080mm L

1шт.

13

20-21032

PLOW BOLT,#3, 5/8" - 11 x 2", Gr 8

10шт.

14

29-1010

NUT,5/8"-11, G8

10шт.

15

D51392

PIN,31.72mm OD x 101.6mm L

2шт.

16

814-10090

BOLT,Hex, M10 x 1.5 x 90mm, Cl 8.8

2шт.

17

895-11010

WASHER,11mm ID x 20mm OD x 2mm Thk

11 x 21 x 2 mm

2шт.

18

832-10410

NUT,M10 x 1.5, Cl 8

2шт.

19

D51393

PIN,31.72mm OD x 152.4mm L

2шт.

20

814-10080

BOLT,Hex, M10 x 1.5 x 80mm, Cl 8.8

2шт.

21

895-11010

WASHER,11mm ID x 20mm OD x 2mm Thk

11 x 21 x 2 mm

2шт.

22

832-10410

NUT,M10 x 1.5, Cl 8

2шт.

23

321-1708

DECAL

1шт.

24

388848A1

GUARD

Pilot Operated Check Valve

1шт.

25

814-10060

BOLT,Hex, M10 x 1.5 x 60mm, Cl 8.8

2шт.

26

892-11010

LOCK WASHER,M10

2шт.

27

614-8025

BOLT,Hex, M8 x 1.25 x 25mm, Cl 8.8, Full Thd

2шт.

28

892-11008

LOCK WASHER,8mm ID

2шт.

29

321-1707

DECAL

1шт.

30

250851A1

POINTER

1шт.

47837450

KIT

Repair Kit for 4-in-1 Loader Bucket, Gusset Plates (Qty.4)

1шт.

Выбрано товаров: 36