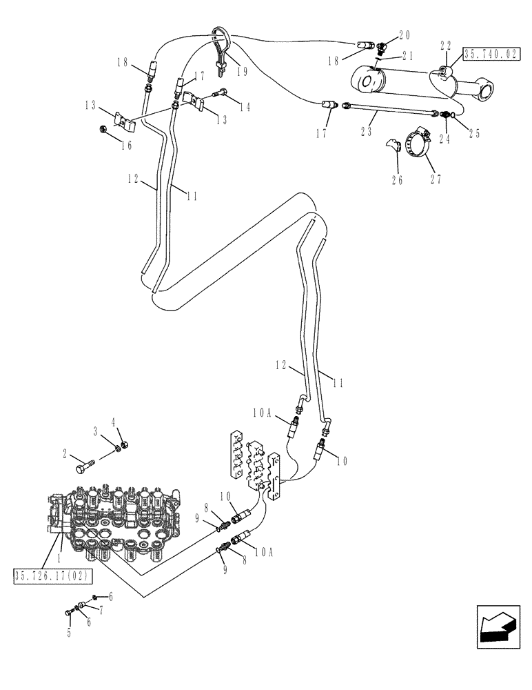
Запчасти Case 580SM (35.740.01) - HYDRAULICS - CYLINDER, BACKHOE EXTENDABLE DIPPER (35) - HYDRAULIC SYSTEMS

Схема запчастей Case 580SM - (35.740.01) - HYDRAULICS - CYLINDER, BACKHOE EXTENDABLE DIPPER (35) - HYDRAULIC SYSTEMS
9
18
-
26
25
1
4
-
2
5
17
11
8
14
3
24
17
22
10
6
23
12
27
12
18
11
10a
10a
20
6
13
7
8
9
35.726.17(02)
13
35.740.02
21
16
19
10
FIT
1:1
100%

Артикул

Название

Примечание

Количество

1

REF

INSTRUCTION

VALVE ASSY Control; Backhoe Control Valve

1шт.

2

814-10080

BOLT,Hex, M10 x 1.5 x 80mm, Cl 8.8

2шт.

3

896-11010

WASHER,11mm ID x 21mm OD x 2.5mm Thk

2шт.

4

829-1410

NUT,M10 x 1.5, Cl 10.9

2шт.

5

614-10035

BOLT,Hex, M10 x 1.5 x 35mm, Cl 8.8, Full Thd

1шт.

6

496-41041

WASHER,13/32" x 1 1/8" x .134"

2шт.

7

D52276

ISOLATOR,10.16mm ID x 28.07mm OD x mm L

1шт.

8

218-5064

HYD CONNECTOR,1-1/16" - 12 Male JIC x 1-1/16" - 12 Male ORB

Incl. Ref 9

2шт.

9

237-6012

O-RING,0.116" Thk x 0.924" ID, -912, Cl 6, 90 Duro

1шт.

10

393380A1

HYDRAULIC HOSE,15.88mm ID x 1295mm L

1шт.

10a

393380A1

HYDRAULIC HOSE,15.88mm ID x 1295mm L

1шт.

11

141809A1

TUBE,19.05 mm OD, 1657, 141 mm Length

on Boom, to Extendable Dipper Cylinder Rod End

1шт.

12

141811A1

TUBE,19.05 mm OD, 1642, 82 mm Length

on Boom, to Extendable Dipper Cylinder Closed End

1шт.

13

D143846

CLAMP

2шт.

14

814-10050

BOLT,Hex, M10 x 1.5 x 50mm, Cl 8.8

1шт.

16

832-10410

NUT,M10 x 1.5, Cl 8

1шт.

17

184617A1

HYDRAULIC HOSE,12.7mm ID x 850mm L

1шт.

18

184616A1

HYDRAULIC HOSE,12.7mm ID x 700mm L

1шт.

19

L18337

CABLE TIE,9.95"-12.1" lg

1шт.

20

218-5107

90 ELBOW,90 Degree Elbow, 7/8" - 14 Male JIC x 7/8" - 14 Male ORB

Incl. Ref 21

1шт.

21

237-6010

O-RING,0.097" Thk x 0.755" ID, -910, Cl 6, 90 Duro

1шт.

22

1340969C2

HYDRAULIC CYLINDER,Double Acting, 44.4mm Rod, 1068mm Stroke

76 ID x 1068 mm strk, Extendable Dipper

1шт.

22

1340969C2R

REMAN-HYD CYLINDER

Dipper Extention Cylinder - For N.A. Only

1шт.

22

1340969C2C

CORE-HYD CYLINDER

Dipper Extention Cylinder - For N.A. Only

1шт.

23

87439537

TUBE,15.88 mm OD x 1000 mm L

1шт.

24

218-5062

HYD CONNECTOR,7/8"-14, 37 Degree x 7/8"-14, O-Ring

Incl. Ref 25

1шт.

25

237-6010

O-RING,0.097" Thk x 0.755" ID, -910, Cl 6, 90 Duro

1шт.

26

D38648

BLOCK

1шт.

27

214-1464

HOSE CLAMP,#64, 3.56" - 4.5", Type F Worm

1шт.

Выбрано товаров: 29