Качественные детали и логистика
Оригинальные и аналоговые запчасти с доставкой по России, Казахстану и Беларуси
©2022 PartSell ООО "Система" ИНН 2463123282 ОГРН 1212400004838
Центральный офис: г. Красноярск, Академика Киренского, д.87, пом.4
Телефон: 8 (800) 777-65-74 Email: zakaz@partsell.ru
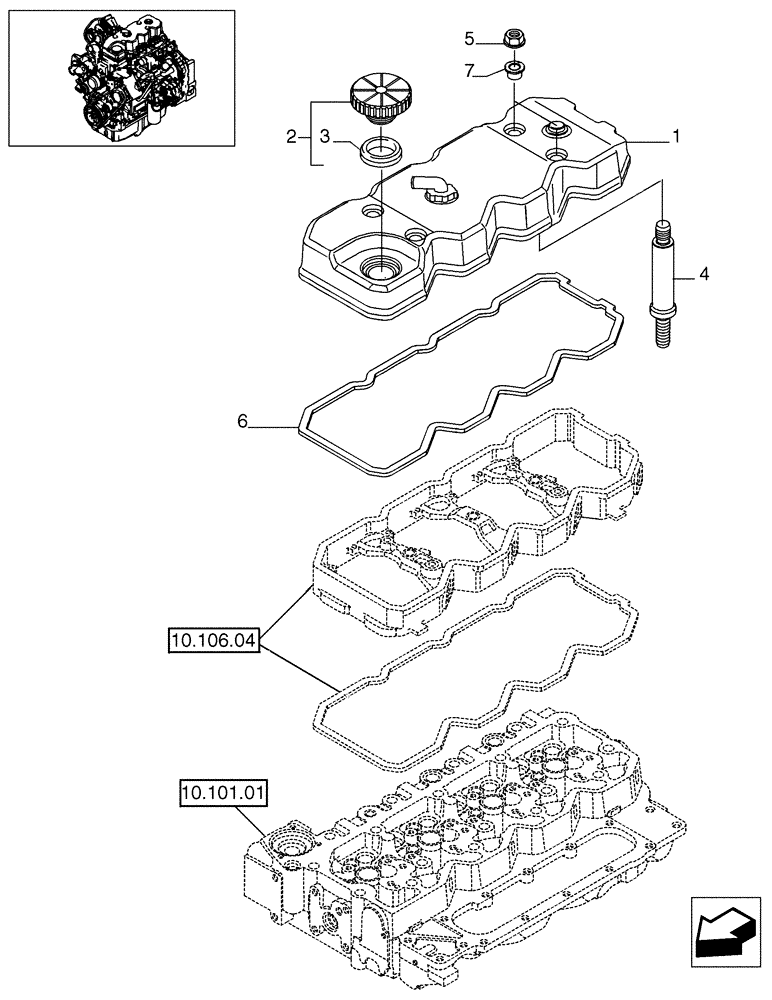
(10.101.02) - CYLINDER HEAD COVERS
№
Артикул
Название
Примечание
Количество
1
2853858
VALVE COVER
1шт.
2
98442027
CAP
Incl. 3
3
2852774
GASKET,38mm ID x 51mm OD x 8mm Thk
4
2854812
STUD,M8 x 1.25 x 113mm
4шт.
5
4893936
FLANGE NUT,Hex, M13, RH Thd, Cl 9.8
6
4899228
GASKET,12mm Thk
7
4899239
ISOLATOR,29mm OD x 13mm L
Выбрано товаров: 0