Запчасти Case 580SM (10.408.01) - OIL FILTER AND COOLER (10) - ENGINE

Схема запчастей Case 580SM - (10.408.01) - OIL FILTER AND COOLER (10) - ENGINE
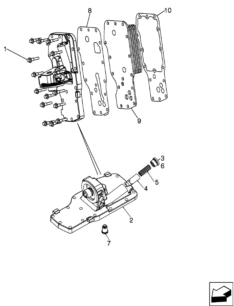
5
1
10
7
9
6
8
2
3
4
FIT
1:1
100%

Артикул

Название

Примечание

Количество

1

4899019

SCREW,Hex Flg, M8 x 1.25 x 35

15шт.

2853780

FILTER HEAD

HOUSING ASSY Incl. 2 - 7

1шт.

2

4899566

FILTER HEAD

1шт.

3

2853781

PLUG,Hex, M22 x 1.5 ORB

Incl. 6

1шт.

4

4896404

PLUNGER,10mm ID, 12mm OD, 15.44mm ID, 18.26mm OD

Pressure Reg.

1шт.

5

4895045

SPRING,Compression, 14.7mm OD x 66mm L

1шт.

6

4899035

O-RING,2.62mm Thk x 18.39mm ID

1шт.

7

J936365

VALVE PRESSURE RELIE

1шт.

8

4896409

GASKET,1.55mm Thk

1шт.

9

2853722

HEAT EXCHANGER

1шт.

10

2830559

GASKET,0.5mm Thk

1шт.

Выбрано товаров: 11