Запчасти Case 580SM (06-10) - COOLING SYSTEM - TRANSMISSION (MODELS WITHOUT POWERSHIFT)(WITH CUT HOSES AT COOLER) (06) - POWER TRAIN

Схема запчастей Case 580SM - (06-10) - COOLING SYSTEM - TRANSMISSION (MODELS WITHOUT POWERSHIFT)(WITH CUT HOSES AT COOLER) (06) - POWER TRAIN
5
16
15
14
25
14
17
1
11
18
5
21
21
17
20a
14
24
14
23
2
13
3
21
12
10
14
14
18
6
14
14
21
13
16
20
6
22
19
FIT
1:1
100%

Артикул

Название

Примечание

Количество

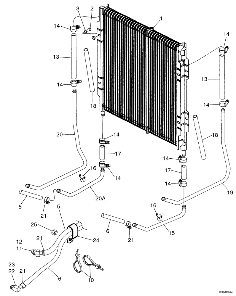
1

87427158

OIL COOLER

Hydraulic

1шт.

2

614-8012

BOLT,Hex, M8 x 1.25 x 12mm, Cl 8.8, Full Thd

4шт.

3

895-11008

WASHER,9mm ID x 16mm OD x 1.6mm Thk

4шт.

5

87422597

HOSE,15.88mm ID x 975mm L, SAE 100R6

975 mm (38-13/32 in), Transmission to Cooler Inlet

1шт.

6

87422598

HOSE,15.88mm ID x 1225mm L, SAE 100R6

Cooler Outlet to Transmission

1шт.

10

L18337

CABLE TIE,9.95"-12.1" lg

CABLE STRAP 15 in

2шт.

11

217-314

FITTING,45 Degree Elbow, 5/8" Hose Barb x 7/8" - 14 Male ORB

Incl. Ref 12

1шт.

12

237-6010

O-RING,0.097" Thk x 0.755" ID, -910, Cl 6, 90 Duro

1шт.

13

87446338

HOSE

235 mm (9-9/32 in); Replaces 87417238 Hose

2шт.

14

328186A1

HOSE CLAMP,400mm L

8шт.

15

87446335

TUBE,15.875 mm OD x 315, 46 mm L

Lower; Replaces 87435277 Tube

1шт.

16

214-1412

HOSE CLAMP,#12, 0.69" - 1.25", Type F Worm

2шт.

17

87446337

HOSE

68 mm (2-11/16 in); Replaces 87426742 Hose

2шт.

18

87428998

PLASTIC-RUBBER TUBE

250 mm (9-7/8 in) Sleeve

2шт.

19

87446333

TUBE,15.875 mm OD x 418, 361 mm L

Right-Hand Upper Cooler; Replaces 87435278 Tube

1шт.

20

87446330

TUBE,15.875 mm OD x 418, 361 mm L

Left-Hand Upper Cooler; Replaces 87435280 Tube

1шт.

20a

87446332

TUBE,15.875 mm OD x 315, 46 mm L

Lower; Replaces 87435279 Tube

1шт.

21

328186A1

HOSE CLAMP,400mm L

4шт.

22

217-349

ELBOW,90 Degree Elbow, 5/8" Hose Barb x 7/8" - 14 Male ORB

Incl. Ref 23

1шт.

23

237-6010

O-RING,0.097" Thk x 0.755" ID, -910, Cl 6, 90 Duro

1шт.

24

D39696

CLAMP,25.40mm - 13.49mm Bolt, CTD

Double P

1шт.

25

829-1410

NUT,M10 x 1.5, Cl 10.9

1шт.

Выбрано товаров: 0