Запчасти Case 580SM (06-11) - COOLING SYSTEM - TRANSMISSION (MODELS WITH POWERSHIFT)(WITH CUT HOSES AT COOLER) (06) - POWER TRAIN

Схема запчастей Case 580SM - (06-11) - COOLING SYSTEM - TRANSMISSION (MODELS WITH POWERSHIFT)(WITH CUT HOSES AT COOLER) (06) - POWER TRAIN
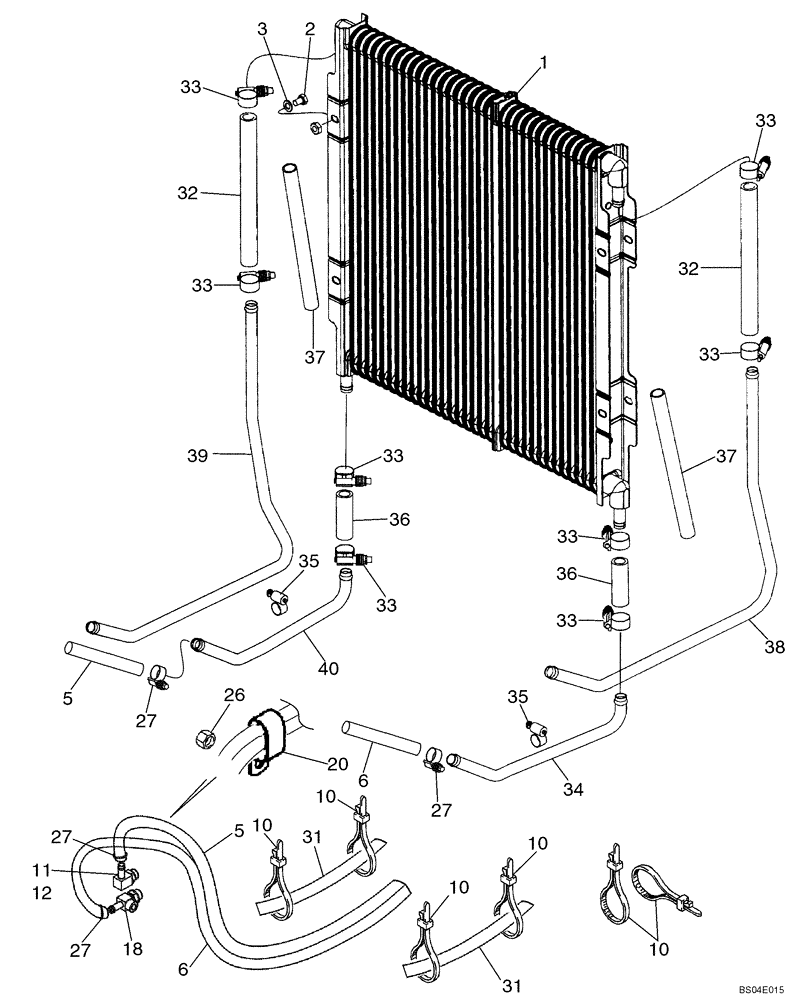
12
2
20
10
33
40
10
31
31
3
38
37
35
36
32
18
10
33
1
6
32
35
33
33
27
27
26
39
10
33
34
27
27
5
33
5
11
10
33
33
6
37
36
FIT
1:1
100%

Артикул

Название

Примечание

Количество

1

87427158

OIL COOLER

Hydraulic

1шт.

2

614-8012

BOLT,Hex, M8 x 1.25 x 12mm, Cl 8.8, Full Thd

4шт.

3

895-11008

WASHER,9mm ID x 16mm OD x 1.6mm Thk

4шт.

5

87424240

HOSE

1900 mm (74-13/16 in), Transmission to Cooler Inlet

1шт.

6

87424241

HOSE

2150 mm (84-11/16 in), Cooler, Serial Range: Outlet-Transmission

1шт.

10

L18337

CABLE TIE,9.95"-12.1" lg

CABLE STRAP 15 in

6шт.

11

217-363

FITTING,90 Degree Elbow, 5/8" Hose Barb x 1-1/16" - 12 Male ORB

Includes Ref. 12

1шт.

12

237-6012

O-RING,0.116" Thk x 0.924" ID, -912, Cl 6, 90 Duro

1шт.

18

87423044

TEE

1шт.

20

D39696

CLAMP,25.40mm - 13.49mm Bolt, CTD

1шт.

26

829-1410

NUT,M10 x 1.5, Cl 10.9

1шт.

27

328186A1

HOSE CLAMP,400mm L

4шт.

31

D132982

PADDLE,26.87mm ID x 400mm L

Hose Sleeve

2шт.

32

87446338

HOSE

235 mm (9-9/32 in) hose; Replaces 87417238 Hose

2шт.

33

328186A1

HOSE CLAMP,400mm L

8шт.

34

87446335

TUBE,15.875 mm OD x 315, 46 mm L

Lower; Replaces 87435277 Tube

1шт.

35

214-1412

HOSE CLAMP,#12, 0.69" - 1.25", Type F Worm

2шт.

36

87446337

HOSE

68 mm (2-11/16 in); Replaces 87426742 Hose

2шт.

37

87428998

PLASTIC-RUBBER TUBE

250 mm (9-7/8 in) Sleeve

2шт.

38

87446333

TUBE,15.875 mm OD x 418, 361 mm L

Right-Hand Upper Cooler; Replaces 87435278 Tube

1шт.

39

87446330

TUBE,15.875 mm OD x 418, 361 mm L

Left-Hand Upper Cooler; Replaces 87435280 Tube

1шт.

40

87446332

TUBE,15.875 mm OD x 315, 46 mm L

Lower; Replaces 87435279 Tube

1шт.

Выбрано товаров: 0