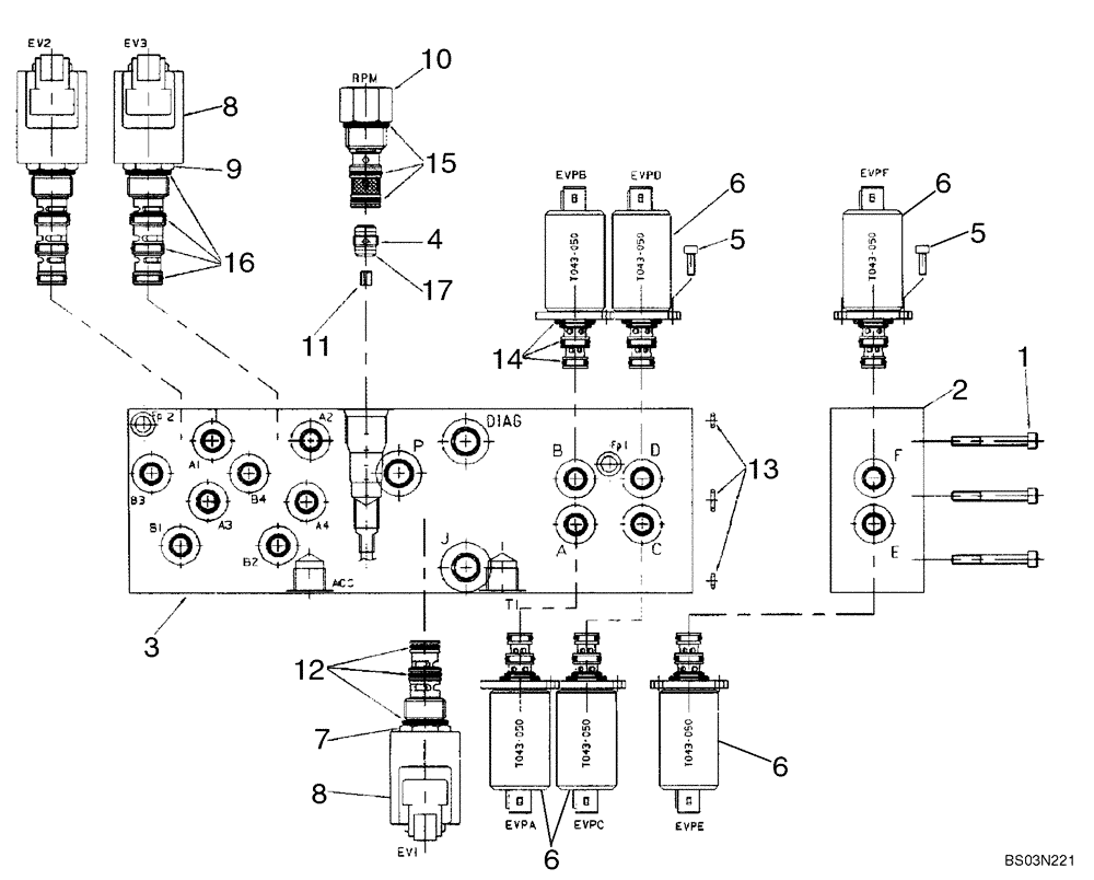
Запчасти Case 580SM (08-52) - VALVE ASSY, PRESSURE REDUCING (3 SPOOL) (WITH PILOT CONTROLS) (08) - HYDRAULICS

Схема запчастей Case 580SM - (08-52) - VALVE ASSY, PRESSURE REDUCING (3 SPOOL) (WITH PILOT CONTROLS) (08) - HYDRAULICS
14
17
6
7
9
5
5
8
4
3
6
1
8
6
15
2
12
13
6
10
16
11
FIT
1:1
100%

Артикул

Название

Примечание

Количество

85827471

HYDRAULIC VALVE

Pressure Reducing, Three Spool, Pilot Controls; Incl. Ref 1 - 17

1шт.

1

14358921

HEX SOC SCREW,M5 x 50mm, Cl 8.8

3шт.

2

85828004

BODY

One Function Add-On Manifold Block

1шт.

3

85828015

BLOCK

Manifold

1шт.

4

85827992

CHECK VALVE

1шт.

5

14302921

HEX SOC SCREW,M4 x 10mm, Cl 8.8, Full Thd

12шт.

6

85827993

SOLENOID VALVE

Pressure Reducing

6шт.

RH/LH Stabilizer Retract PWM, RH/LH Stabilizer Extend PWM, Extendahoe Retract PWM, Extendahoe Extend PWM

1шт.

7

85827994

SOLENOID VALVE

Cartridge, 3 Way, 2 Position; Incl. Ref 8, 12

1шт.

Joystick Enable Solenoid

1шт.

8

85827995

COIL

With Diode

3шт.

9

85827996

SOLENOID VALVE,2 Section

Cartridge, 4 Way, 2 Position; Incl. Ref 8, 16

2шт.

Pattern Change Solenoids

1шт.

10

85827997

VALVE

Mechanical Pressure Reducing With Fixed Setting

1шт.

11

85828005

ORIFICE

1.8 mm

1шт.

12

85827998

SEAL KIT

O-Ring Kit

1шт.

13

85827999

SEAL KIT

O-Ring Kit

1шт.

14

85828000

SEAL KIT

O-Ring Kit

6шт.

15

85828001

SEAL KIT

O-Ring Kit

1шт.

16

85828002

SEAL KIT

O-Ring Kit

2шт.

17

85828003

O-RING,1mm Thk x 9mm ID

D9x1

1шт.

Выбрано товаров: 21