Запчасти Case 580SM (08-53) - VALVE ASSY, PRESSURE REDUCING (4 SPOOL) (WITH PILOT CONTROLS) (08) - HYDRAULICS

Схема запчастей Case 580SM - (08-53) - VALVE ASSY, PRESSURE REDUCING (4 SPOOL) (WITH PILOT CONTROLS) (08) - HYDRAULICS
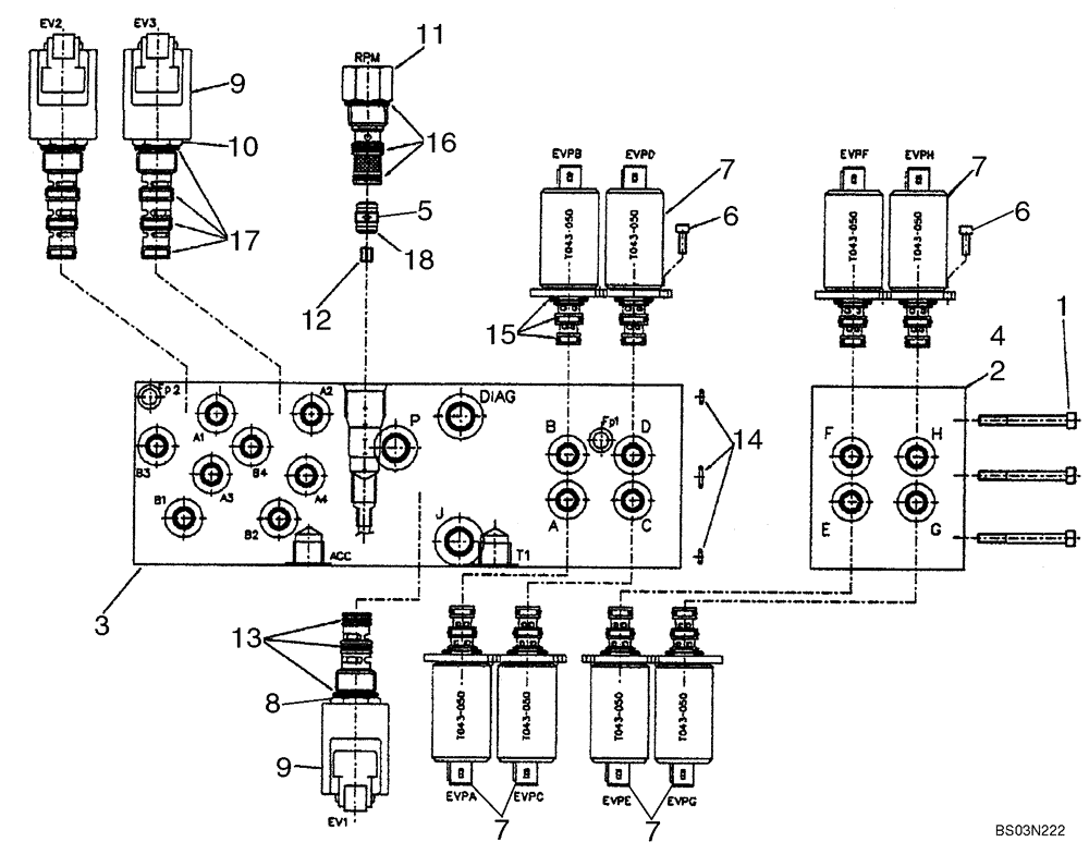
12
18
8
4
17
13
7
5
14
7
2
6
10
9
9
1
11
7
6
3
7
15
16
FIT
1:1
100%

Артикул

Название

Примечание

Количество

87434621

CONTROL VALVE

Pressure Reducing, Four Spool, Pilot Controls; Incl. Ref 1 - 18

1шт.

1

85828061

SCREW,M5 x 80mm

M5 x 80

3шт.

2

85828048

MANIFOLD VALVE

Assembly, 2-Function Add-on Manifold, Incl 4, 7 (4 ea)

1шт.

3

85828015

BLOCK

Manifold

1шт.

4

85828054

BLOCK

Manifold

1шт.

5

85827992

CHECK VALVE

1шт.

6

14302921

HEX SOC SCREW,M4 x 10mm, Cl 8.8, Full Thd

16шт.

7

85827993

SOLENOID VALVE

Pressure Reducing

8шт.

RH/LH Stabilizer Retract PWM, RH/LH Stabilizer Extend PWM, Extendahoe Retract PWM, Extendahoe Extend PWM

1шт.

8

85827994

SOLENOID VALVE

Valve Cartridge, 3 Way, 2 Position; Incl. Ref 9, 13

1шт.

Joystick Enable Solenoid

1шт.

9

85827995

COIL

With Diode

3шт.

10

85827996

SOLENOID VALVE,2 Section

Cartridge, 4 Way, 2 Position; Incl. Ref 9, 17

2шт.

Pattern Change Solenoids

1шт.

11

85827997

VALVE

Mechanical Pressure Reducing With Fixed Setting

1шт.

12

85828005

ORIFICE

1.8 mm

1шт.

13

85827998

SEAL KIT

O-Ring Kit

1шт.

14

85827999

SEAL KIT

O-Ring Kit

1шт.

15

85828000

SEAL KIT

O-Ring Kit

8шт.

16

85828001

SEAL KIT

O-Ring Kit

1шт.

17

85828002

SEAL KIT

O-Ring Kit

2шт.

18

85828003

O-RING,1mm Thk x 9mm ID

1шт.

Выбрано товаров: 0