Запчасти Case 580SM (02-23) - PISTONS - CONNECTING ROD (02) - ENGINE

Схема запчастей Case 580SM - (02-23) - PISTONS - CONNECTING ROD (02) - ENGINE
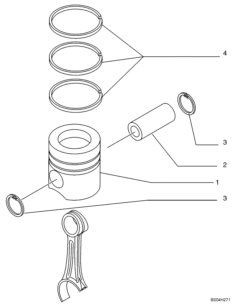
4
2
3
1
3
FIT
1:1
100%

Артикул

Название

Примечание

Количество

1

2855531

PISTON

STD - Does not include rings; Replaces 4897980

4шт.

1

87317251

PISTON & RINGS KIT

Standard

4шт.

1

1931224

PISTON ASSY +0.4

4шт.

1

87317252

PISTON & RINGS KIT,0.4mm Oversize

04 mm Oversized

4шт.

1

1931227

PISTON ASSY +0.8

4шт.

1

87317253

PISTON & RINGS KIT

0.8 mm Oversized

4шт.

2

4892712

PISTON PIN,38mm OD x 82mm L

4шт.

3

4892713

SNAP RING,Int, M26.4

8шт.

3

2854030

SNAP RING,M40.8 OD

Alternate part to 4892713

8шт.

4

2852037

SEAL,95.3mm ID x 104mm OD x 4mm Thk

4шт.

4

2830158

PISTON RING,95.4mm ID x 104mm OD x 2.39mm Thk

Compression; 2.39 mm Wide; Yellow Identification Mark

4шт.

4

2852036

PISTON RING

Compression; 3.00 mm Wide; Red Identification Mark

4шт.

Выбрано товаров: 0