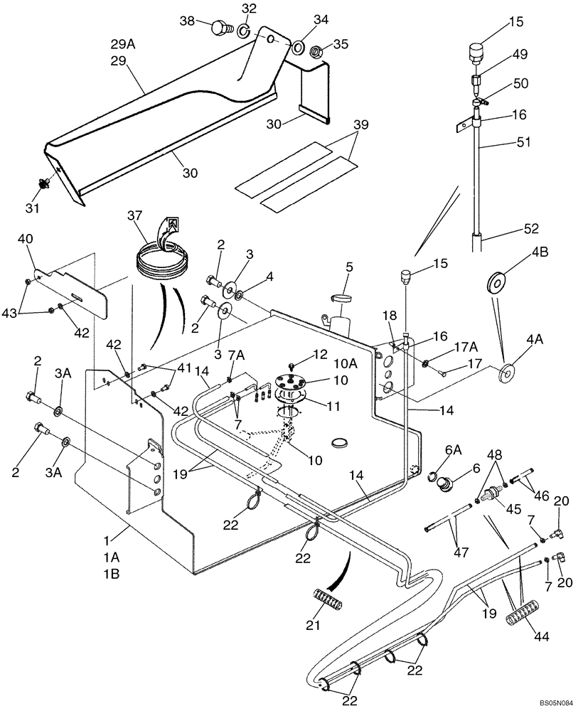
Запчасти Case 580SM (03-01) - FUEL LINES, RESERVOIR (03) - FUEL SYSTEM

Схема запчастей Case 580SM - (03-01) - FUEL LINES, RESERVOIR (03) - FUEL SYSTEM
14
43
6
49
1
4a
2
2
39
35
16
32
15
30
3
17
50
20
41
31
37
19
38
40
1a
7
5
6a
14
29
48
12
17a
16
14
19
21
4
3a
30
10
2
47
10
10a
15
3
29a
44
7
51
7
1b
42
42
4b
2
22
22
52
11
3a
22
7a
42
18
20
22
46
34
FIT
1:1
100%

Артикул

Название

Примечание

Количество

1

87429310

FUEL TANK

580SM Models, 31 gal; Incl. Ref 6; With Welded Fuel Sender Tubes; Includes Left Hand Steps, Mounts to Left Hand Side of Chassis

1шт.

Tank does not extend beyond attachment bracket that uses attach bolt Ref# 2

1шт.

1a

87429314

FUEL TANK

580SM Models, 40 gal; Incl. Ref 6; Optional; With Welded Fuel Sender Tubes; Includes Left Hand Steps, Mounts to Left Hand Side of Chassis; If Used

1шт.

Shown - tank extends beyond attachment bracket 168.9mm

1шт.

1b

87429318

FUEL TANK

580SM+ Models, 42 gal; Incl. Ref 6; With Welded Fuel Sender Tubes; Includes Left Hand Steps, Mounts to Left Hand Side of Chassis

1шт.

Shown - tank extends beyond attachment bracket 186.6mm

1шт.

2

443375A1

BOLT,Hex, M20 x 2.5 x 60mm, Cl 10.9

M20 x 60; With Loctite

4шт.

3

302358A1

WASHER,21mm ID x 54mm OD x 4mm Th

2шт.

3a

896-11020

WASHER,22mm ID x 37mm OD x 4mm Thk

2шт.

4

185926A1

SPACER,21mm x 40mm x 6.6mm Th

21 ID x 40 OD x 6.6 mm thk, Upper Left Hand Side of Tank

1шт.

4a

409472A1

SPACER

21 ID x 55.5 OD x 8.25 mm thk, With 40 mm dia x 6.6 mm thk Raised Surface; If Used; Lower Left Hand Side of Tank

1шт.

4b

87360280

SPACER,22mm ID x 57mm OD x 8.25 Th

22 ID x 57 OD x 8.25 mm thk, Flat; If Used; Lower Left Hand Side of Tank

1шт.

5

87335469

LOCKABLE FUEL CAP,Male, Lockable

Replaces 130049A1 Fuel Cap Used On Some Models

1шт.

6

86625138

PLUG,7/18" - 14

Drain, Includes Ref. 6A; Included with Ref 1, 1A, 1B

1шт.

6a

237-6010

O-RING,0.097" Thk x 0.755" ID, -910, Cl 6, 90 Duro

1шт.

7

214-1706

HOSE CLAMP,#06, 0.44" - 0.78", Type M Worm

4шт.

7a

214-1704

HOSE CLAMP,#04, 0.25" - 0.62", Type M Worm

1шт.

10

86989676

SENDER UNIT

Fuel Level, 31 Gallon Tank, Without Tubes, Includes Seal and Grounding Hardware, If Used

1шт.

10a

87408480

SENDER UNIT

Fuel Level, 40 or 42 Gallon Tank, Without Tubes, Includes Seal and Grounding Hardware, If Used

1шт.

11

188311A2

GASKET,2.38mm Thk

No Longer Used

1шт.

12

D75465

SCREW,#10 - 32 x 5/8"

No. 10 NF x 5/8

5шт.

14

234892A1

HOSE

HOSE,LARGE 1/4 ID x 1100 mm (43-5/16 in), 1/4 NPTF Fem End x Cut Hose End; Vent; If Used

1шт.

15

130047A1

BREATHER ASSY.

Vent

1шт.

16

515-23127

CLAMP,1/2", Insul, 3/8" Bolt

1шт.

17

614-8030

BOLT,Hex, M8 x 1.25 x 30mm, Cl 8.8, Full Thd

1шт.

17a

892-11008

LOCK WASHER,8mm ID

1шт.

18

87417383

THREADED INSERT,M8 x 1.25

M8 Nut

1шт.

19

87444942

FUEL HOSE,9.53 mm ID x 1650.00 mm, SAE 30R7

To Fuel Lift Pump and Injector Pump; Two Used On Models Without In-Line Fuel Check Valve

1-2шт.

20

87414560

90 ELBOW

ELBOW, 90 deg, Includes O-Ring

2шт.

21

87434880

HOSE PROTECTION,34mm ID x 450mm L

450 mm (17-3/4 in)

1шт.

22

L18337

CABLE TIE,9.95"-12.1" lg

CABLE STRAP

1шт.

29

189602A3

COVER

Mounted Above Fuel Reservoir; Models With Two Spool Loader Valve

1шт.

29a

188009A3

COVER

Mounted Above Fuel Reservoir, Models With Three Spool Loader Valve

1шт.

30

191046A1

ORNAMENTAL STRIP

Trim, 650 mm (25-5/8 in), Cut From A165860; Apply 65 mm (2-9/16 in) of Trim to Front Lower Edge and 575 mm (22-11/16 in) of Trim to Outside Lower Edge of Cover

1шт.

31

307577A1

BOLT

Special, M8 x 20

1шт.

32

892-11010

LOCK WASHER,M10

1шт.

34

895-11010

WASHER,11mm ID x 20mm OD x 2mm Thk

1шт.

35

829-1410

NUT,M10 x 1.5, Cl 10.9

1шт.

37

D40442

MOLDING

Trim, 305 mm (12 in), Cut From F42827; If Used

1шт.

38

814-10045

BOLT,Hex, M10 x 1.5 x 45mm, Cl 8.8

Models with Three Spool Loader Valve

1шт.

38

614-10020

BOLT,Hex, M10 x 1.5 x 20mm, Cl 8.8, Full Thd

Models with Two Spool Loader Valve

1шт.

39

D80270

ANTI-SKID STRIP,635mm / 25 Inch

635 mm (25 in), 31 or 42 Gallon Tank

2шт.

39

307348A1

ANTI-SKID STRIP

700 mm (27-9/16"), 40 gallon tank

2шт.

40

397548A4

PLATE

Mud

1шт.

41

614-10020

BOLT,Hex, M10 x 1.5 x 20mm, Cl 8.8, Full Thd

2шт.

42

895-11010

WASHER,11mm ID x 20mm OD x 2mm Thk

3шт.

43

829-1410

NUT,M10 x 1.5, Cl 10.9

2шт.

44

191704A1

HOSE PROTECTION,19mm ID x 25mm OD x 460mm L

2шт.

45

87454053

VALVE, CHECK

Fuel Line; Install With Flow Arrow Pointed Toward Tank; If Used

1шт.

46

87454055

FUEL HOSE,9.53 mm ID x 150.00 mm, SAE 30R7

Return to Check Valve, If Used

1шт.

47

87454054

FUEL HOSE,9.53 mm ID x 1500.00 mm, SAE 30R7

Check Valve to Tank, If Used

1шт.

48

214-1706

HOSE CLAMP,#06, 0.44" - 0.78", Type M Worm

If Used

2шт.

49

217-117

FITTING,1/4" Hose x 1/4" NPTF, Fem, Barbed

Brass; If Used

1шт.

50

214-1704

HOSE CLAMP,#04, 0.25" - 0.62", Type M Worm

If Used

1шт.

51

87362937

HOSE,6.35mm ID x 1080mm L, SAE 30R6

1/4 ID x 1080 mm; Cut Hose Both Ends; Fuel Vent; If Used

1шт.

52

143219A1

HOSE PROTECTION,19mm ID x 24mm OD x 450mm L

If Used

1шт.

Выбрано товаров: 0