Запчасти Case 580SM (35.114.01) - VALVE ASSY - LOADER CONTROL, TWO SPOOL (VARIABLE VOLUME PUMP MODELS) (580SM+) (35) - HYDRAULIC SYSTEMS

Схема запчастей Case 580SM - (35.114.01) - VALVE ASSY - LOADER CONTROL, TWO SPOOL (VARIABLE VOLUME PUMP MODELS) (580SM+) (35) - HYDRAULIC SYSTEMS
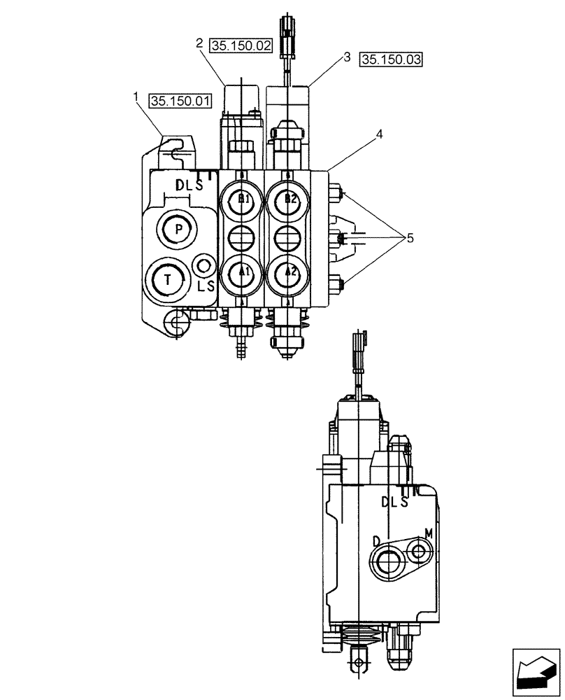
4
35.150.02
35.150.03
5
2
3
1
FIT
1:1
100%

Артикул

Название

Примечание

Количество

87654395

CONTROL VALVE

580SM+; Two Spool Loader Valve, Used On Models With Pilot Controls And Variable Volume Pump; Includes Parts Listed Below

1шт.

1

87751123

HYD VALVE SECTION

Inlet

1шт.

2

87751137

HYD VALVE SECTION

Boom

1шт.

3

87751139

HYD VALVE SECTION

Bucket

1шт.

4

87330847

OUTLET

1шт.

5

85825475

THREADED TIE-ROD,M10 x 145mm L

3шт.

Выбрано товаров: 6