Качественные детали и логистика
Оригинальные и аналоговые запчасти с доставкой по России, Казахстану и Беларуси
©2022 PartSell ООО "Система" ИНН 2463123282 ОГРН 1212400004838
Центральный офис: г. Красноярск, Академика Киренского, д.87, пом.4
Телефон: 8 (800) 777-65-74 Email: zakaz@partsell.ru
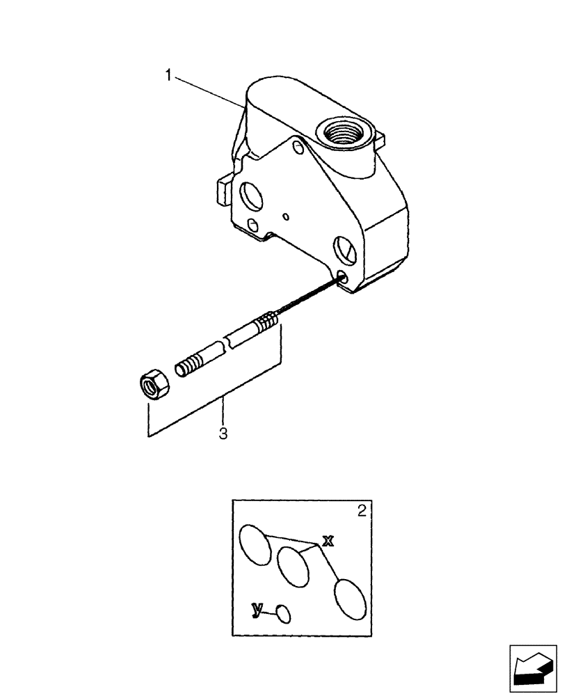
(35.150.12) - VALVE SECTION - OUTLET (WITH PILOT CONTROLS) (580SM+)
№
Артикул
Название
Примечание
Количество
87751047
HYD VALVE SECTION
Outlet; Incl. 1, 2
1шт.
1
NSS
NOT SOLD SEPARAT
HOUSING
2
85825473
SEAL KIT
Between Elements; Includes (4) O-Rings
3
87751102
BOLT
With Nut
Выбрано товаров: 0