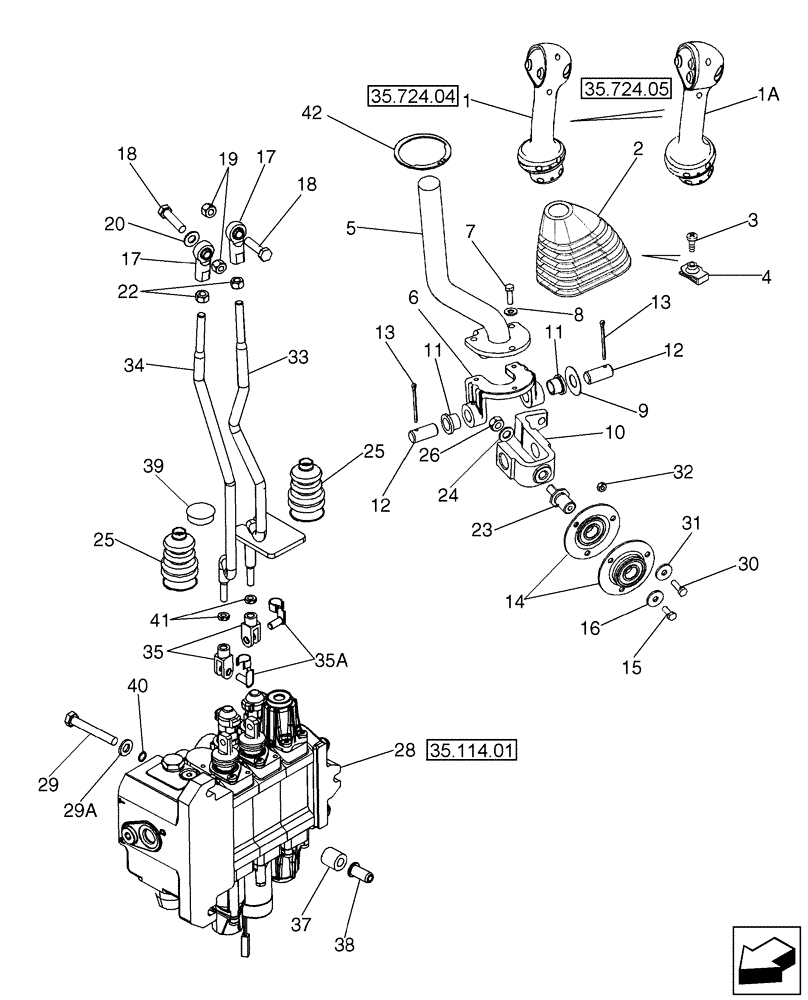
Запчасти Case 580SM (35.724.03[02]) - CONTROLS - LOADER LIFT AND BUCKET (VARIABLE VOLUME PUMP MODELS) (580SM+) (35) - HYDRAULIC SYSTEMS

Схема запчастей Case 580SM - (35.724.03[02]) - CONTROLS - LOADER LIFT AND BUCKET (VARIABLE VOLUME PUMP MODELS) (580SM+) (35) - HYDRAULIC SYSTEMS
2
13
6
15
30
14
23
8
13
28
4
11
18
25
25
7
29
17
1
12
11
24
9
1a
31
26
20
5
18
35a
38
22
35
32
12
35.724.05
35.114.01
35.724.04
39
40
41
17
33
42
10
3
29a
19
34
37
16
FIT
1:1
100%

Артикул

Название

Примечание

Количество

1

87638046

JOYSTICK

Loader Control Lever, Two Button, DeClutch and Differential Lock Switches; 2 Spool With Standard Transmission

1шт.

256347A1

CONNECTOR, ELEC,Male, 4 Cavities

CONNECTOR

1шт.

258616A1

LOCK

1шт.

298176A1

PLUG

1шт.

1a

87638045

JOYSTICK

Loader Control Lever,Three Button, DeClutch, Differential Lock, And Kick-Down Switches; 2 Spool With Power Shift Transmission

1шт.

256347A1

CONNECTOR, ELEC,Male, 4 Cavities

CONNECTOR

1шт.

258616A1

LOCK

1шт.

87301351

ADHESIVE

Permabond, F246, 1 ml With No. 5 Initiator

1шт.

2

87632920

BOOT

1шт.

3

140-107

SCREW,Pan HD, #10 - 24 x 3/4"

1шт.

4

131-121

SPRING NUT,Tinn, U, #10-24

1шт.

5

87708015

HANDLE

1шт.

6

87681261

BRACKET

1шт.

7

614-6020

BOLT,Hex, M6 x 1 x 20mm, Cl 8.8, Full Thd

3шт.

8

495-11028

WASHER,1/4", SAE

3шт.

9

495-81184

WASHER,21/32" x 1 1/2" x .030"

1шт.

10

87586156

LINKAGE YOKE

1шт.

11

108088A1

BUSHING,15.96mm ID x 19.15mm OD x 15mm L

2шт.

12

102761A1

PIN,15.91mm OD x 35mm L

2шт.

13

432-828

COTTER PIN,1/8" x 1 3/4"

2шт.

14

112380A1

BEARING ASSY

Incl Ref 14A

2шт.

14a

362804

BALL BEARING,17mm ID x 40mm OD x 12mm W

Not Illustrated

1шт.

15

614-6016

BOLT,Hex, M6 x 1 x 16mm, Cl 8.8, Full Thd

1шт.

16

396-41028

WASHER,.281" x 7/8" x .098", HDN

1шт.

17

87382812

BALL JOINT HEAD,3/8" - 24

3/8 NF

2шт.

18

413-624

BOLT,Hex, 3/8" - 16 x 1-1/2", Gr 5

1шт.

19

232-4246

NUT,3/8"-16, GC

2шт.

20

496-11041

WASHER,13/32" x 13/16" x .065", HDN

1шт.

22

425-116

NUT,3/8" - 24, Gr 5

2шт.

23

176309A1

SHAFT,M10 x 1.5, 48.74mm L

1шт.

24

895-11010

WASHER,11mm ID x 20mm OD x 2mm Thk

1шт.

25

132931A1

BOOT

2шт.

189109A1

SPRING,Compression, 42mm OD

2шт.

26

829-1410

NUT,M10 x 1.5, Cl 10.9

1шт.

27

87602942

CLEVIS PIN,8 x 16mm Short ZND

M8 x 16

2шт.

28

REF

INSTRUCTION

LOADER CONTROL VALVE, Two Spool

1шт.

29

814-10070

BOLT,Hex, M10 x 1.5 x 70mm, Cl 8.8

3шт.

29a

896-11010

WASHER,11mm ID x 21mm OD x 2.5mm Thk

3шт.

30

614-6020

BOLT,Hex, M6 x 1 x 20mm, Cl 8.8, Full Thd

3шт.

31

396-41028

WASHER,.281" x 7/8" x .098", HDN

3шт.

32

829-1406

NUT,Hex, M6 x 1, Cl 10.9

3шт.

33

87663563

THREADED ROD

Bucket Control

1шт.

34

87663554

THREADED ROD,38"-24 UNF x 483mm L

Lift Control

1шт.

35

87602941

ADJUSTABLE CLEVIS,M8 x 16mm, Short

2шт.

35a

87602942

CLEVIS PIN,8 x 16mm Short ZND

2шт.

37

87417599

SPACER,11mm ID x 22mm OD x 30mm Thk

3шт.

38

87417721

THREADED INSERT,M10 x 1.5-6H x 29 L

M10

3шт.

39

353-422

PLUG,Dome, 1.250" hole, Nylon

1шт.

40

86629543

O-RING,0.07" Thk x 0.364" ID, -12, Cl 5, 75 Duro

3шт.

41

829-4408

NUT,Thin, M8 x 1.25, Cl 05

2шт.

42

84146318

SNAP RING

1шт.

Выбрано товаров: 51