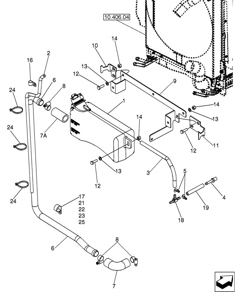
Запчасти Case 580SM (10.406.01[01]) - DEAERATION SYSTEM - MOUNTING (10) - ENGINE

Схема запчастей Case 580SM - (10.406.01[01]) - DEAERATION SYSTEM - MOUNTING (10) - ENGINE
23
25
6
10.406.04
21
13
7
5
14
24
24
7a
13
1
19
3
9
17
16
14
12
18
22
8
2
12
11
24
13
4
6
10
8
12
14
FIT
1:1
100%

Артикул

Название

Примечание

Количество

1

87674844

RESERVOIR, COOLANT E,3L

Deaeration, 3.0 Liters; Includes 85803019 Cap

1шт.

85803019

RADIATOR CAP

13 psi

1шт.

2

87616934

HOSE,6.35mm ID x 750mm L, SAE 30R6

Overflow

1шт.

3

87715652

HOSE,7.90 mm ID, SAE J30, SAE 30R6 Or SAE 20R4 Class D1

Recovery; Reservoir to Tee

1шт.

4

87301325

FITTING,5/16" Hose X 1/4" NPTF Beaded

1шт.

5

214-1704

HOSE CLAMP,#04, 0.25" - 0.62", Type M Worm

4шт.

6

87557237

TUBE,1" OD

1шт.

7

87454376

HOSE,25mm ID, 29.95mm OD, 90 Degree

1шт.

7a

87367622

HOSE,25.40 mm ID x 60.00 mm, SAE 20R3 CLASS D-1 Or D-2

1шт.

8

214-1416

HOSE CLAMP,#16, 0.81" - 1.5", Type F Worm

4шт.

9

87632870

BRACKET

Bottle Retaining

1шт.

10

87548813

BRACKET

LH

1шт.

11

87548814

BRACKET

RH

1шт.

12

614-8025

BOLT,Hex, M8 x 1.25 x 25mm, Cl 8.8, Full Thd

7шт.

13

895-11008

WASHER,9mm ID x 16mm OD x 1.6mm Thk

7шт.

14

832-10408

NUT,M8 x 1.25, Cl 8.8

7шт.

16

515-22254

CLAMP,1", Insul, 5/16" Bolt

1шт.

17

515-22127

CLAMP,1/2", Insul, 5/16" Bolt

1шт.

18

87721028

TEE

1шт.

19

87721260

RADIATOR HOSE,7.90 mm ID x 90.00 mm, SAE 30R6 Or SAE 20R4 Class D1

Tee to Radiator

1шт.

21

614-8040

BOLT,Hex, M8 x 1.25 x 40mm, Cl 8.8, Full Thd

1шт.

22

87418360

SPACER,9.8mm ID x 16mm OD x 16mm W

8 x 16 mm

1шт.

23

895-11008

WASHER,9mm ID x 16mm OD x 1.6mm Thk

1шт.

24

L18337

CABLE TIE,9.95"-12.1" lg

CABLE STRAP

3шт.

25

832-10408

NUT,M8 x 1.25, Cl 8.8

1шт.

Выбрано товаров: 25