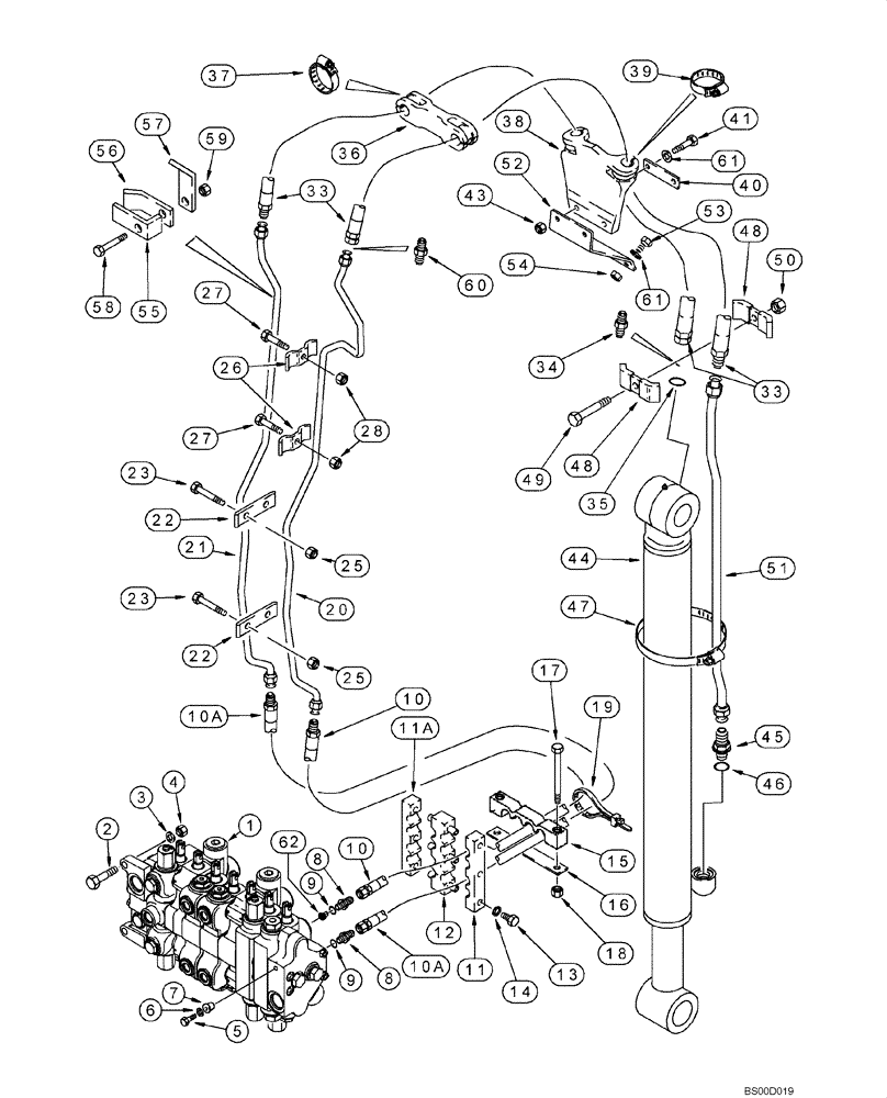
Запчасти Case 590SM (08-13) - HYDRAULICS - CYLINDER, BACKHOE BUCKET (MODELS WITH EXTENDABLE DIPPER) (08) - HYDRAULICS

Схема запчастей Case 590SM - (08-13) - HYDRAULICS - CYLINDER, BACKHOE BUCKET (MODELS WITH EXTENDABLE DIPPER) (08) - HYDRAULICS
2
12
4
7
1
10
60
56
61
8
46
11
23
10a
21
27
55
53
35
62
52
14
49
23
58
15
39
51
48
38
45
41
33
33
40
8
19
10a
18
43
13
27
37
44
6
28
11a
57
25
3
20
54
16
17
5
61
47
25
50
48
9
59
9
36
10
26
34
22
22
FIT
1:1
100%

Артикул

Название

Примечание

Количество

1

REF

INSTRUCTION

Valve Assy, Control; Backhoe Control Valve; For Correct Assembly and Components, See Figure(s) 08-37 - 08-38

1шт.

2

814-12045

BOLT,Hex, M12 x 1.75 x 45mm, Cl 8.8

2шт.

3

896-11012

WASHER,13.5mm ID x 24mm OD x 3mm Thk

2шт.

4

829-1412

NUT,M12, Cl 10.9

2шт.

5

614-10035

BOLT,Hex, M10 x 1.5 x 35mm, Cl 8.8, Full Thd

1шт.

6

496-41041

WASHER,13/32" x 1 1/8" x .134"

1шт.

7

D52276

ISOLATOR,10.16mm ID x 28.07mm OD x mm L

1шт.

8

218-5064

HYD CONNECTOR,1-1/16" - 12 Male JIC x 1-1/16" - 12 Male ORB

Incl. Ref 9

2шт.

9

237-6012

O-RING,0.116" Thk x 0.924" ID, -912, Cl 6, 90 Duro

Boss Seal

1шт.

10

393365A2

HOSE ASSY.,15.88mm ID x 1235mm L

1235 mm (48-5/8 in); Replaces 393365A1

1шт.

10a

393364A1

HOSE ASSY.,19.05mm ID x 1200mm L

1200 mm (47-1/4 in)

1шт.

11

179404A1

CLAMP

1шт.

11a

176268A1

CLAMP

1шт.

12

176266A1

CLAMP

1шт.

13

614-8025

BOLT,Hex, M8 x 1.25 x 25mm, Cl 8.8, Full Thd

6шт.

14

892-11008

LOCK WASHER,8mm ID

6шт.

15

372481A1

CLAMP

1шт.

16

132212A1

PLATE

1шт.

17

814-12110

BOLT,Hex, M12 x 1.75 x 110mm, Cl 8.8

2шт.

18

832-10412

NUT,M12 x 1.75, Cl 8

2шт.

19

L18337

CABLE TIE,9.95"-12.1" lg

CABLE STRAP 15 in

1шт.

20

142976A1

HYD TUBE,19.05 mm OD, 2211, 255 mm Length

1шт.

21

142982A1

HYD TUBE,25.4mm OD, 2211mm Length

1шт.

22

182035A1

CLAMP

4шт.

23

814-12080

BOLT,Hex, M12 x 1.75 x 80mm, Cl 8.8

8шт.

25

832-10412

NUT,M12 x 1.75, Cl 8

8шт.

26

221525A1

CLAMP,26mm ID

4шт.

27

814-12060

BOLT,Hex, M12 x 1.75 x 60mm, Cl 8.8

4шт.

28

832-10412

NUT,M12 x 1.75, Cl 8

4шт.

33

109020A1

HOSE,19.05mm ID x 2300mm L

2300 mm (90-9/16 in)

2шт.

34

218-5064

HYD CONNECTOR,1-1/16" - 12 Male JIC x 1-1/16" - 12 Male ORB

Incl. Ref 35

1шт.

35

237-6012

O-RING,0.116" Thk x 0.924" ID, -912, Cl 6, 90 Duro

Boss Seal

1шт.

36

103670A1

CLAMP,27mm ID

1шт.

37

214-3132

HOSE CLAMP,1-1/4" - 2-1/8", HD Worm

2,0 in; If Used

2шт.

37

214-3140

HOSE CLAMP,1-3/4" - 2-5/8", HD Worm

2,5 in; If Used

2шт.

38

184297A1

SUPPORT

1шт.

39

214-3132

HOSE CLAMP,1-1/4" - 2-1/8", HD Worm

2,0 in; If Used

2шт.

39

214-3140

HOSE CLAMP,1-3/4" - 2-5/8", HD Worm

2,5 in; If Used

2шт.

40

101479A1

SUPPORT

1шт.

41

814-10045

BOLT,Hex, M10 x 1.5 x 45mm, Cl 8.8

2шт.

43

832-10410

NUT,M10 x 1.5, Cl 8

2шт.

44

296434A1

CYLINDER,Double Acting, 69.8mm Rod, 872mm Stroke

95 ID x 872 mm strk; Bucket Cylinder; See Figure 08-60

1шт.

44

296434A1R

REMAN-HYD CYLINDER

590SM

1шт.

44

296434A1C

CORE-HYD CYLINDER

Return Number

1шт.

45

218-5050

HYD CONNECTOR,1-5/16" - 12 Male JIC x 1-1/16" - 12 Male ORB

Incl. Ref 46

1шт.

46

237-6012

O-RING,0.116" Thk x 0.924" ID, -912, Cl 6, 90 Duro

Boss Seal

1шт.

47

214-1472

HOSE CLAMP,#72, 4.06" - 5", Type F Worm

1шт.

48

D143846

CLAMP

2шт.

49

814-10055

BOLT,Hex, M10 x 1.5 x 55mm, Cl 8.8

1шт.

50

832-10410

NUT,M10 x 1.5, Cl 8

1шт.

51

396708A1

TUBE,25.4 mm OD

Models Without Auxiliary Hydraulics

1шт.

51

314957A1

HYD TUBE

Models With Auxiliary Hydraulics

1шт.

52

183736A1

SUPPORT

1шт.

53

614-10030

BOLT,Hex, M10 x 1.5 x 30mm, Cl 8.8, Full Thd

2шт.

54

832-10410

NUT,M10 x 1.5, Cl 8

2шт.

55

D149310

CLAMP

2шт.

56

D149308

CLAMP,12mm ID, 10.5mm Bolt Hole, J Type

2шт.

57

D149309

CLAMP

2шт.

58

814-10060

BOLT,Hex, M10 x 1.5 x 60mm, Cl 8.8

2шт.

59

832-10410

NUT,M10 x 1.5, Cl 8

2шт.

60

218-737

UNION,1 1/16"-12, 37 Degree x 1 1/16"-12, 37 Degree

1-1/16 fl

1шт.

61

895-18010

WASHER,10.5mm ID x 18mm OD x 1.6mm Thk

4шт.

62

182222A1

FITTING

1шт.

Выбрано товаров: 63