Запчасти Case 590SM (08-46) - VALVE SECTION - EXTENDABLE DIPPER (08) - HYDRAULICS

Схема запчастей Case 590SM - (08-46) - VALVE SECTION - EXTENDABLE DIPPER (08) - HYDRAULICS
13
11
15
1
4
15
15
12
14
12
7
19
6
16
9
18
17
6
8
5
3
19
10
15
18
16
13
14
2
17
3
11
FIT
1:1
100%

Артикул

Название

Примечание

Количество

144324A5

HYD VALVE SECTION

Extendable Dipper; Incl. Ref 1 - 19

1шт.

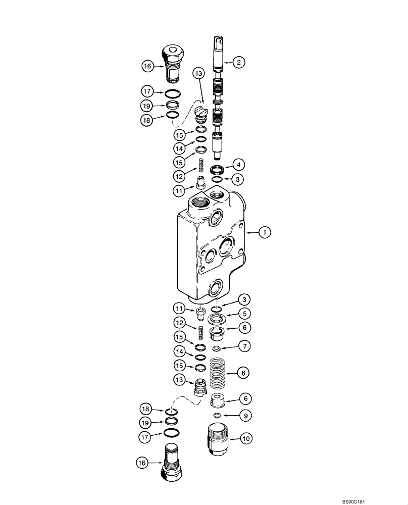
1

NSS

NOT SOLD SEPARAT

Housing

1шт.

2

NSS

NOT SOLD SEPARAT

Spool

1шт.

3

1994608C1

O-RING,0.737" ID x 0.943" OD x 0.103"

2шт.

4

65457C1

SEAL,19.04mm ID x 25.5mm OD x 3.17mm Thk

1шт.

5

G102711

RETAINER COLLAR,19.3 mm ID x 32.97 mm OD

1шт.

6

G33075

RETAINER,12.2mm ID, 27.9mm OD

2шт.

7

332753A1

SPACER

1шт.

8

1994596C1

SPRING

Purple

1шт.

9

100-1647

SNAP RING,#47, Ext

1шт.

10

G33080

CAP

1шт.

345-601

LOCTITE

No. 203; 1 ml

1шт.

1346219C3

VALVE, CHECK

Load Check Valve; Incl. Ref 11 - 15

2шт.

11

1343777C1

VALVE POPPET,6.9mm ID x 17.5mm OD x 18.8mm L

1шт.

12

1346175C1

SPRING,Compression, 6.6mm OD x 21.93mm L

1шт.

13

1343708C1

PLUG

1шт.

14

238-6016

O-RING,0.07" Thk x 0.614" ID, -16, Cl 6, 90 Duro

Face Seal

1шт.

15

G103862

BACK-UP RING,15.77mm ID x 18.67mm OD x 1.32mm Thk

2шт.

G33122

PLUG,ORB

Relief; Incl. Ref 16 - 19

2шт.

16

NSS

NOT SOLD SEPARAT

Plug

1шт.

17

237-6012

O-RING,0.116" Thk x 0.924" ID, -912, Cl 6, 90 Duro

Boss Seal

1шт.

18

238-6018

O-RING,0.07" Thk x 0.739" ID, -18, Cl 6, 90 Duro

Face Seal

1шт.

19

G35540

BACK-UP RING,19.43mm ID x 22.23mm OD x 1.32mm Thk

1шт.

1346105C2

SEAL KIT

Incl. Ref 3, 4, 14, 15, 17 - 19; Plus Additional O-Rings Not Required For This Application

1шт.

Выбрано товаров: 24