Запчасти Case 590SM (09-06) - BUCKETS, LOADER LONG LIP (09) - CHASSIS/ATTACHMENTS

Схема запчастей Case 590SM - (09-06) - BUCKETS, LOADER LONG LIP (09) - CHASSIS/ATTACHMENTS
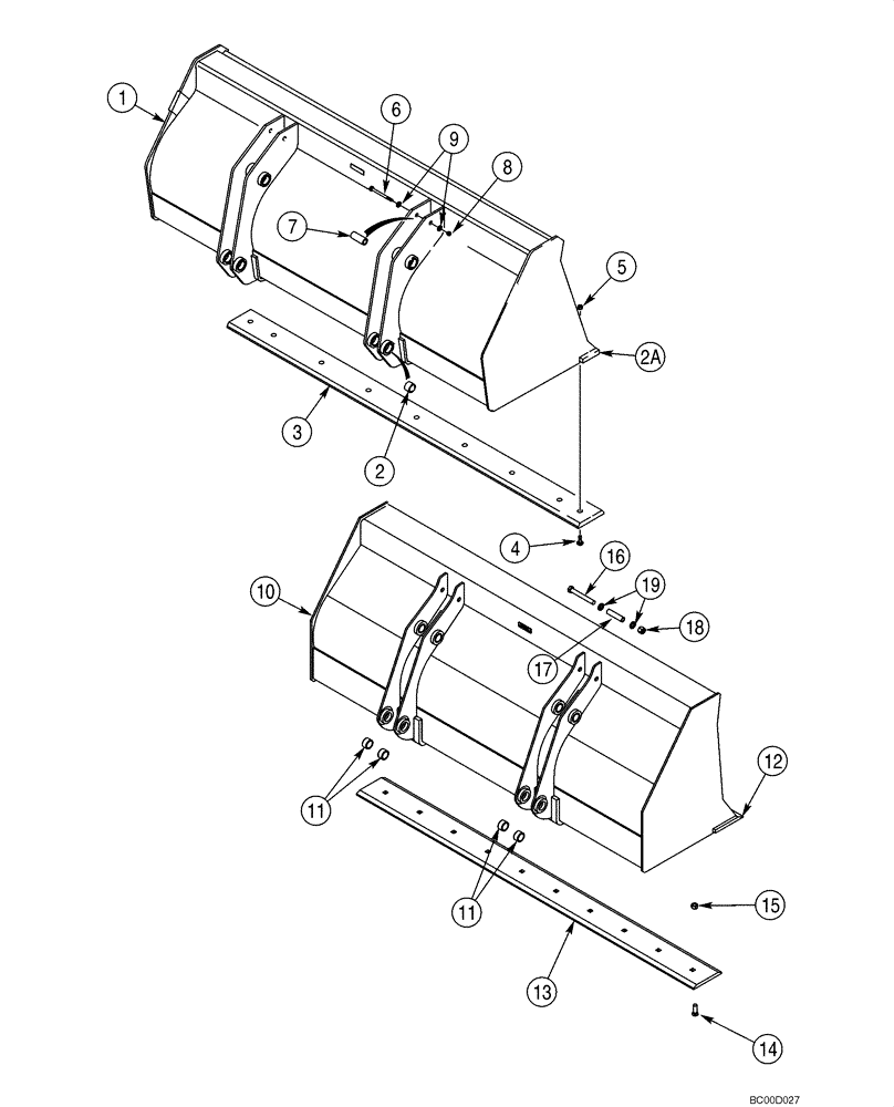
9
5
8
16
11
10
3
17
14
2
6
13
4
1
19
18
11
2a
7
12
15
FIT
1:1
100%

Артикул

Название

Примечание

Количество

198539A1

BUCKET

2362 mm (93 in); Assembly Incl. Bolt-On Cutting Edge; Without Bucket Teeth; Incl. Ref 1 - 9; Order Through Parts Marketing

1шт.

1

NSS

NOT SOLD SEPARAT

Bucket; Incl. Ref 2, 2A

1шт.

2

D129264

BUSHING,40.3mm ID x 50mm OD x 28mm L

8шт.

2a

134844A1

CUTTING EDGE,Bolt On, 10 Holes, 12mm W x 2389mm L

Weld-On

1шт.

3

185506A1

CUTTING EDGE

Bolt-On

1шт.

4

20-21232

PLOW BOLT,#3, 3/4" - 10 x 2", Gr 8

10шт.

5

429-1012

NUT,3/4"-10, G8

10шт.

6

828-20160

BOLT,Hex, M20 x 2.5 x 160mm, Cl 10.9

2шт.

7

142538A1

SPACER,21mm ID x 25mm OD x 105mm L

1шт.

8

832-10420

NUT,M20 x 2.5, Cl 8

2шт.

9

896-11020

WASHER,22mm ID x 37mm OD x 4mm Thk

4шт.

341130A2

BUCKET

2438 mm (96 in); Assembly Incl. Bolt-On Cutting Edge; Without Bucket Teeth; Incl. Ref 10 - 19; Order Through Parts Marketing

1шт.

10

NSS

NOT SOLD SEPARAT

Bucket; Incl. Ref 11, 12

1шт.

11

D129264

BUSHING,40.3mm ID x 50mm OD x 28mm L

8шт.

12

332448A1

PLATE

Weld-On

1шт.

13

332449A1

CUTTING EDGE,96", 10 Hole

Bolt-On

1шт.

14

420-21236

CARRIAGE BOLT,#3, 3/4" - 10 x 2 1/4", Gr 8

10шт.

15

429-1012

NUT,3/4"-10, G8

10шт.

16

828-20160

BOLT,Hex, M20 x 2.5 x 160mm, Cl 10.9

2шт.

17

142538A1

SPACER,21mm ID x 25mm OD x 105mm L

2шт.

18

832-10420

NUT,M20 x 2.5, Cl 8

2шт.

19

896-11020

WASHER,22mm ID x 37mm OD x 4mm Thk

2шт.

Выбрано товаров: 22