Запчасти Case 590SM (05-08) - AXLE, FRONT (377979A1 / 86990837) - HOUSING (IF USED) (05) - STEERING

Схема запчастей Case 590SM - (05-08) - AXLE, FRONT (377979A1 / 86990837) - HOUSING (IF USED) (05) - STEERING
6
1
8
4
7a
9
5
8a
1a
7
9a
2
3
2
FIT
1:1
100%

Артикул

Название

Примечание

Количество

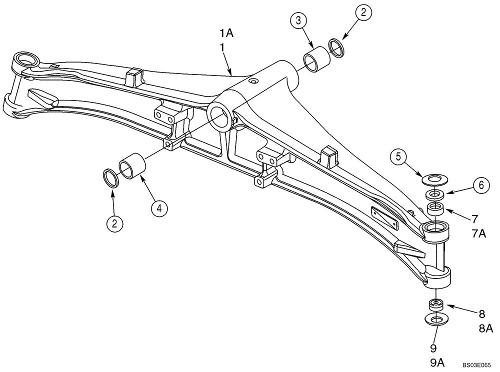
377979A1

AXLE, FRONT

Steering, Two Wheel Drive, Incl. Figures 05-08 - 05-11; If Used

1шт.

86990837

AXLE

Front, Two Wheel Drive, Incl. Figures 05-08 - 05-11; If Used

1шт.

1

401050A1

AXLE HOUSING

377979A1 Axle

1шт.

1a

429230A1

AXLE HOUSING

86990837 Axle

1шт.

2

N14367

SEALING RING,50mm ID x 60.1mm OD x 4mm Thk

2шт.

3

D149726

BUSHING,6.20mm ID x 9.60mm OD x 6mm L

Front

1шт.

4

D149725

BUSHING,59.75 OD x 54mm L

Rear

1шт.

5

122270A1

BELLEVILLE WASHER,36mm ID x 71mm OD x 2mm Th

Belleville

2шт.

6

136990A1

WASHER

Washer; 377979A1 Axle Only; No Washer Used in This Location on 86990837 Axle

2шт.

7

100522A1

BUSHING

377979A1 Axle

2шт.

7a

87400286

BUSHING

86990837 Axle

2шт.

8

100520A1

SPHERICAL BEARING,25mm ID x 47mm OD x 15mm W

Bushing; 377979A1 Axle

2шт.

8a

N14373

SPHERICAL BEARING,28mm ID x 52mm OD x 16mm W

Bushing; Two Piece; 28 ID x 50 OD x 16; 86990837 Axle

2шт.

9

122268A1

BELLEVILLE WASHER

Belleville; 377979A1 Axle

2шт.

9a

122261A1

BELLEVILLE WASHER,47.5mm ID x 70mm OD x 2mm Th

Belleville; 86990837 Axle

2шт.

Выбрано товаров: 15