Запчасти Case 590SM (08-33) - PUMP, EQUIPMENT HYDRAULIC (WITHOUT PILOT CONTROLS) (08) - HYDRAULICS

Схема запчастей Case 590SM - (08-33) - PUMP, EQUIPMENT HYDRAULIC (WITHOUT PILOT CONTROLS) (08) - HYDRAULICS
14
6
7
6
4
9
7
13
1
12
17
5
3
9
2
16
10
8
8
11
FIT
1:1
100%

Артикул

Название

Примечание

Количество

87434674

HYDRAULIC PUMP,20.8 CC

Tandem; Component Parts Not Serviced Separately, Except for 87434072 and 87438045 Service Kits, Ref 1 - 17, See Below

1шт.

87434674R

REMAN-HYD PUMP

REMANUFACTURED HYD PUMP

1шт.

87434674C

CORE-HYDRAULIC PUMP

Return Number, HYD PUMP

1шт.

87434072

HYD PUMP REPAIR KIT

Pump Service Kit, Dual Section; Incl. Ref 1 - 9

1шт.

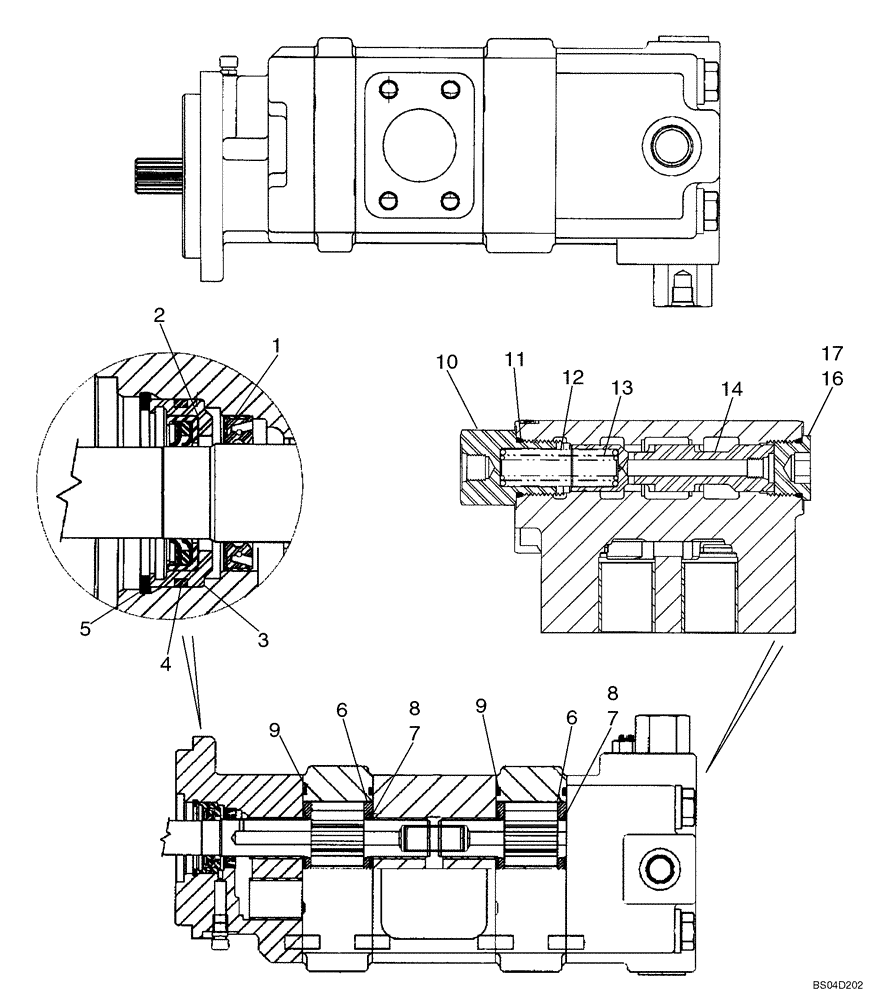
1

L32418

SEAL,26.99mm ID x 42.93mm OD x 7.92mm Thk

Double Lip

1шт.

2

87434075

SEAL

Lip Seal

1шт.

3

87434076

SEAL RETAINER

1шт.

4

87434077

O-RING

SEALRING O-Ring Seal

1шт.

5

102-23206

SNAP RING,#206, 2.190", Int, Spiral

1шт.

6

N13582

THRUST PLATE

4шт.

7

144173A1

SEAL

4шт.

8

178051A1

BACK-UP RING

4шт.

9

L32100

SEAL,Square, 3.17mm Thk x 101.6mm ID, 70 Duro

Gear Housing Gasket

4шт.

87438045

HYD PUMP REPAIR KIT

Priority Valve Service Kit, Single; Incl. Ref 10 - 17

1шт.

10

87437899

PLUG

Load Sense Plug

1шт.

11

237-6014

O-RING,0.116" Thk x 1.048" ID, -914, Cl 6, 90 Duro

1шт.

12

87437905

SPRING-CHECK

Spool Spring, 100 psi

1шт.

13

87437906

SPRING-CHECK

Spool Spring, 50 psi

1шт.

14

87437914

SPOOL

Priority Valve

1шт.

15

87437917

PLUG

Orifice, Hex Socket Plug, Spool; Not Illustrated; No Longer Used; No Longer In Service Kit

1шт.

16

218-5213

PLUG,Hex Soc, 1 3/16"-12 ORB

Incl. Ref 17

1шт.

17

237-6014

O-RING,0.116" Thk x 1.048" ID, -914, Cl 6, 90 Duro

1шт.

Выбрано товаров: 22