Запчасти Case 590SM (08-33A) - PUMP, EQUIPMENT HYDRAULIC, 87452274 (WITH PILOT CONTROLS) (08) - HYDRAULICS

Схема запчастей Case 590SM - (08-33A) - PUMP, EQUIPMENT HYDRAULIC, 87452274 (WITH PILOT CONTROLS) (08) - HYDRAULICS
17
20
6
2
8
15
5
12
18
16
8
6
9
21
9
22
7
19
23
13
11
7
3
14
10
4
1
FIT
1:1
100%

Артикул

Название

Примечание

Количество

87452274

HYDRAULIC PUMP

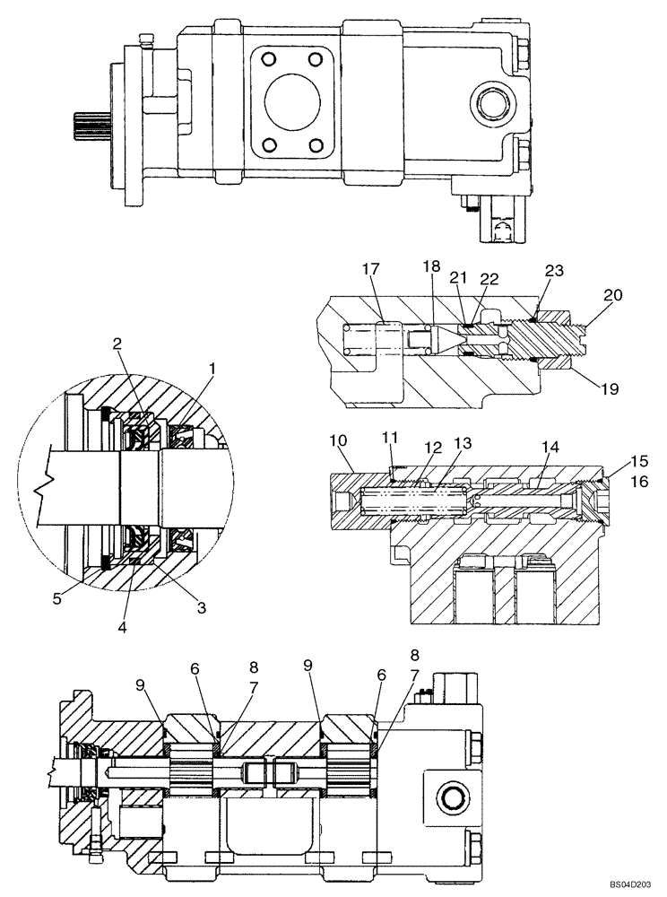
Tandem; Component Parts Not Serviced Separately, Except for 87434072, 87449532, and 87450108 Service Kits, Ref 1 - 23, See Below; No Longer Available, Order 87327846 Pump On Figure 08-33B

1шт.

87327846R

REMAN-HYD PUMP

Reman for New PN 87452274

1шт.

87327846C

CORE-HYDRAULIC PUMP

Return Number

1шт.

87434072

HYD PUMP REPAIR KIT

Pump Service Kit, Dual Section; Incl. Ref 1 - 9

1шт.

1

L32418

SEAL,26.99mm ID x 42.93mm OD x 7.92mm Thk

Double Lip

1шт.

2

87434075

SEAL

Lip Seal

1шт.

3

87434076

SEAL RETAINER

1шт.

4

87434077

O-RING

SEALRING O-Ring Seal

1шт.

5

102-23206

SNAP RING,#206, 2.190", Int, Spiral

1шт.

6

N13582

THRUST PLATE

4шт.

7

144173A1

SEAL

4шт.

8

178051A1

BACK-UP RING

4шт.

9

L32100

SEAL,Square, 3.17mm Thk x 101.6mm ID, 70 Duro

Gear Housing Gasket

4шт.

87449532

SERVICE KIT

Priority Valve Service Kit; Incl. Ref 10 - 16

1шт.

10

87449538

PLUG

Load Sense Plug

1шт.

11

237-6014

O-RING,0.116" Thk x 1.048" ID, -914, Cl 6, 90 Duro

1шт.

12

87449537

SPRING

Spool Spring, 125 psi

1шт.

13

87449536

SPRING

Spool Spring, 75 psi

1шт.

14

87449535

SPOOL

Priority Valve Spool

1шт.

15

218-5213

PLUG,Hex Soc, 1 3/16"-12 ORB

Incl. Ref 16

1шт.

16

237-6014

O-RING,0.116" Thk x 1.048" ID, -914, Cl 6, 90 Duro

1шт.

87450108

SERVICE KIT

LS Relief Valve Service Kit; Incl. Ref 17 - 23

1шт.

17

87450107

SPRING

1шт.

18

87450017

VALVE POPPET

1шт.

19

87450016

NUT

Hex

1шт.

20

87450015

SCREW

With Screen

1шт.

21

D26853

BACK-UP RING

1шт.

22

238-6011

O-RING,0.07" Thk x 0.301" ID, -11, Cl 6, 90 Duro

1шт.

23

237-6006

O-RING,0.078" Thk x 0.468" ID, -906, Cl 6, 90 Duro

1шт.

Выбрано товаров: 29