Качественные детали и логистика
Оригинальные и аналоговые запчасти с доставкой по России, Казахстану и Беларуси
©2022 PartSell ООО "Система" ИНН 2463123282 ОГРН 1212400004838
Центральный офис: г. Красноярск, Академика Киренского, д.87, пом.4
Телефон: 8 (800) 777-65-74 Email: zakaz@partsell.ru
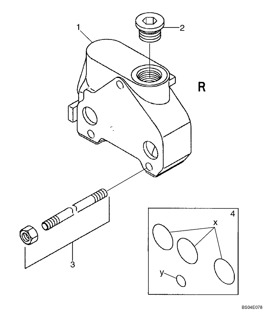
(08-43B) - VALVE SECTION - OUTLET (WITH PILOT CONTROLS)
№
Артикул
Название
Примечание
Количество
87447470
HYD VALVE SECTION
Outlet; Incl. Ref 1 - 4
1шт.
1
NSS
NOT SOLD SEPARAT
Housing
2
87447471
PLUG,1"-1/16 UNF
Steel
3
87447477
SET OF PARTS
KIT, Tie Bolt for 8 Spool Valve
3шт.
4
85825473
SEAL KIT
Includes (4) O-Rings
Выбрано товаров: 0