Запчасти Case 590SM (05-02B) - HYDRAULICS - STEERING (COMFORT STEER) (05) - STEERING

Схема запчастей Case 590SM - (05-02B) - HYDRAULICS - STEERING (COMFORT STEER) (05) - STEERING
11
8
7
13
11
9
8
16
1
13
10
15
5
13
2
15
12
7
15
16
18
4
17
6
19
6
16
5
3
14
FIT
1:1
100%

Артикул

Название

Примечание

Количество

REF

INSTRUCTION

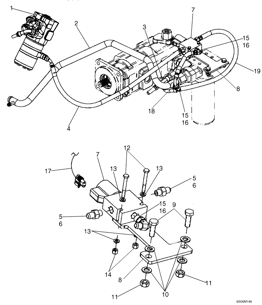
For Comfort Steer Electrical, See Figure 04-09A; For Steering Common Parts, See Figure 05-02, 05-02A

1шт.

1

87579286

STEERING VALVE

Steering Control Valve Pump, Dual Speed Steering; Includes 87454545, 396592A1, 87619415; For Attaching Fittings and Hoses, See Figure 05-02, 05-02A

1шт.

87454545

SEAL KIT

Includes (2) Seals, (8) O-Rings, Instructins

1шт.

396592A1

KIT

Anti-Cavitation; Includes (2) Balls, (4) Springs, (2) Retainers

1шт.

87619415

SET OF SCREWS

Bolt Kit Includes (7) Capscrews

1шт.

2

87579936

HYD TUBE

Return Tube, Filter to Tank; For Fitting at Filter, See Figure 08-03

1шт.

3

218-845

TEE,37 Degree, 3/4"-16 x 3/4"-16, Fem Sw Run

Used In Addition to Existing Fittings

1шт.

4

87560508

HOSE ASSY.

1580 mm (62-7/32 in) long Hose; Pilot; Dual Speed

1шт.

5

218-5057

HYD CONNECTOR,9/16" - 18 JIC x 9/16" - 18 ORB

Incl. Ref 6

2шт.

6

237-6006

O-RING,0.078" Thk x 0.468" ID, -906, Cl 6, 90 Duro

1шт.

7

87382811

SOLENOID VALVE

Two-Position Three-Way; Includes 87348571, 329483A1, 87613159, 87613161

1шт.

87348571

NUT,Hex, 1/2" - 20, RH

Nut, Hex, 1/2-20UNF; Coil

1шт.

329483A1

SEAL KIT

1шт.

87613159

SOLENOID VALVE

Cartridge, Valve

1шт.

87613161

SOLENOID,12V, 1.36A

Coil, Solenoid

1шт.

8

87610318

MOUNTING PLATE

Solenoid Mount Bracket, Painted; Replaces 87597210 Unpainted Bracket

1шт.

9

614-10030

BOLT,Hex, M10 x 1.5 x 30mm, Cl 8.8, Full Thd

Thread to Head

2шт.

10

895-11010

WASHER,11mm ID x 20mm OD x 2mm Thk

4шт.

11

829-1410

NUT,M10 x 1.5, Cl 10.9

2шт.

12

814-6050

BOLT,Hex, M6 x 1 x 50mm, Cl 8.8

2шт.

13

895-11006

WASHER,6.6mm ID x 12mm OD x 1.6mm Thk

4шт.

14

832-10406

NUT,M6 x 1, Cl 8

2шт.

15

218-5105

ELBOW,90 Degree Elbow, 9/16" - 18 Male JIC x 9/16" - 18 Male ORB

Incl. Ref 16

2шт.

16

237-6006

O-RING,0.078" Thk x 0.468" ID, -906, Cl 6, 90 Duro

15/32 ID x 5/64 wide

1шт.

17

87584586

WIRE HARNESS

Powershift Harness; See Figure 04-09A for Comfort Steer Electrical

1шт.

18

87560509

HOSE ASSY.

215 mm (8-15/32 in) long Hose; Tank; Dual Speed

1шт.

19

87560507

HYDRAULIC HOSE

705 mm (27-25/32 in) long; Pressure; Dual Speed

1шт.

Выбрано товаров: 27