Запчасти Case 590SM (08-11) - HYDRAULICS - CYLINDER, BACKHOE DIPPER (08) - HYDRAULICS

Схема запчастей Case 590SM - (08-11) - HYDRAULICS - CYLINDER, BACKHOE DIPPER (08) - HYDRAULICS
30
31
25
6
21
20
11
18
28
29
9
11a
36
8
36
22
11
8
12
33
22
3
15
30
14
12a
1
7
5
16
19
6
28
2
17
27
4
35
31
34
26
33
13
11a
9
FIT
1:1
100%

Артикул

Название

Примечание

Количество

1

REF

INSTRUCTION

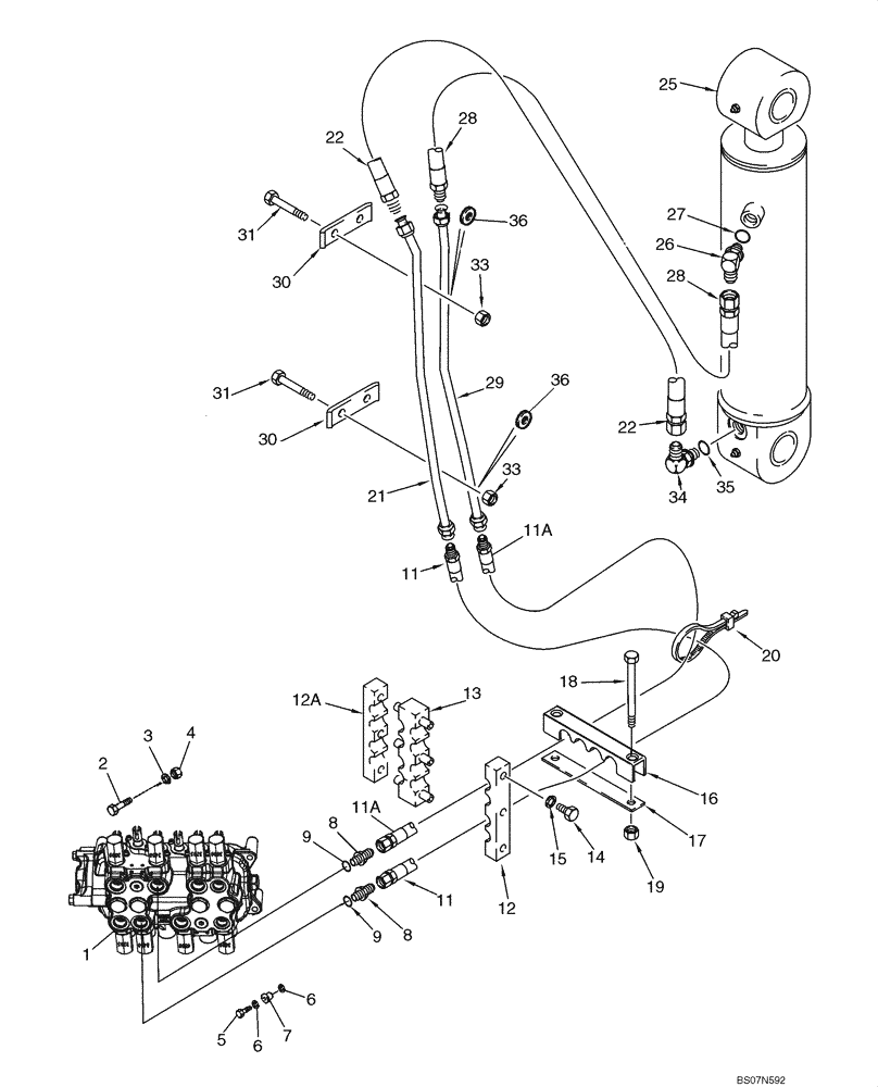
Valve Assy, Control; Backhoe Control Valve; For Correct Assembly and Components, See Figures 08-36 - 08-41

1шт.

2

814-10080

BOLT,Hex, M10 x 1.5 x 80mm, Cl 8.8

2шт.

3

896-11010

WASHER,11mm ID x 21mm OD x 2.5mm Thk

2шт.

4

829-1410

NUT,M10 x 1.5, Cl 10.9

2шт.

5

614-10035

BOLT,Hex, M10 x 1.5 x 35mm, Cl 8.8, Full Thd

1шт.

6

496-41041

WASHER,13/32" x 1 1/8" x .134"

2шт.

7

D52276

ISOLATOR,10.16mm ID x 28.07mm OD x mm L

1шт.

8

218-5064

HYD CONNECTOR,1-1/16" - 12 Male JIC x 1-1/16" - 12 Male ORB

Incl. Ref 9

2шт.

9

237-6012

O-RING,0.116" Thk x 0.924" ID, -912, Cl 6, 90 Duro

Boss Seal

1шт.

11

87431616

HOSE ASSY.,19.05mm ID x 1360mm L

1360 mm (53-9/16 in); Lower Valve Port

1шт.

11a

87431615

HOSE ASSY.,15.88mm ID x 1315mm L

1315 mm (51-13/16 in); Upper Valve Port

1шт.

12

179404A1

CLAMP

1шт.

12a

176268A1

CLAMP

1шт.

13

176266A1

CLAMP

1шт.

14

614-8025

BOLT,Hex, M8 x 1.25 x 25mm, Cl 8.8, Full Thd

6шт.

15

892-11008

LOCK WASHER,8mm ID

6шт.

16

87338363

HOSE CLAMP

1шт.

17

132212A1

PLATE

1шт.

18

814-12110

BOLT,Hex, M12 x 1.75 x 110mm, Cl 8.8

2шт.

19

832-10412

NUT,M12 x 1.75, Cl 8

2шт.

20

L18337

CABLE TIE,9.95"-12.1" lg

CABLE STRAP

1шт.

21

220278A1

TUBE

1шт.

22

195115A1

HOSE,19.05mm ID x 750mm L

750 mm (29-17/32 in)

1шт.

25

140965A1

CYLINDER,Double Acting, 69.8mm Rod, 564.2mm Stroke

140 ID x 564 mm strk; Dipper Cylinder; See Figure 08-68

1шт.

25

140965A1R

REMAN-HYD CYLINDER

590SM Series 3, 590SM+ Series 3, Both w/Tier 3 Engine

1шт.

25

140965A1C

CORE-HYD CYLINDER

Return Number

1шт.

26

218-5108

ELBOW,90 Degree Elbow, 1-1/16" - 12 Male JIC x 1-1/16" - 12 Male ORB

Incl. Ref 27

1шт.

27

237-6012

O-RING,0.116" Thk x 0.924" ID, -912, Cl 6, 90 Duro

Boss Seal

1шт.

28

397782A1

HYDRAULIC HOSE,15.88mm ID x 780mm L

780 mm (30-3/4 in)

1шт.

29

179608A1

HYD TUBE,19.05 mm OD

1шт.

30

182035A1

CLAMP

2шт.

31

814-12080

BOLT,Hex, M12 x 1.75 x 80mm, Cl 8.8

4шт.

33

832-10412

NUT,M12 x 1.75, Cl 8

4шт.

34

218-5110

ELBOW,90 Degree Elbow, 1-5/16" - 12 Male JIC x 1-5/16" - 12 Male ORB

Incl. Ref 35

1шт.

35

237-6016

O-RING,0.116" Thk x 1.171" ID, -916, Cl 6, 90 Duro

Boss Seal

1шт.

36

896-11012

WASHER,13.5mm ID x 24mm OD x 3mm Thk

4шт.

Выбрано товаров: 36