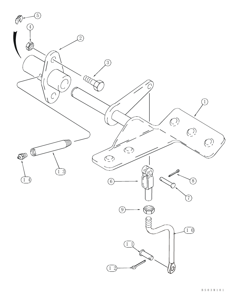
Запчасти Case 590SM (09-19) - CONTROLS - BACKHOE, WITH HAND SWING (MODELS WITH EXTENDABLE DIPPER) (09) - CHASSIS/ATTACHMENTS

Схема запчастей Case 590SM - (09-19) - CONTROLS - BACKHOE, WITH HAND SWING (MODELS WITH EXTENDABLE DIPPER) (09) - CHASSIS/ATTACHMENTS
10
14
13
1
6
7
2
3
4
9
8
12
5
bs03m101
11
FIT
1:1
100%

Артикул

Название

Примечание

Количество

1

179029A1

PEDAL

Right-Hand; Extendahoe

1шт.

2

126918A1

SUPPORT

1шт.

3

614-10025

BOLT,Hex, M10 x 1.5 x 25mm, Cl 8.8

2шт.

4

832-10410

NUT,M10 x 1.5, Cl 8

2шт.

5

D143416

CIRCLIP,15.09mm ID x 27.81mm OD x 1.57mm Thk

1шт.

6

D134900

CLEVIS,3/8-24"

1шт.

7

427-6088

CLEVIS PIN,3/8" x 3/4"

1шт.

8

432-612

COTTER PIN,3/32" x 3/4"

1шт.

9

425-156

JAM NUT,Jam, 3/8"-24, G5

1шт.

10

87440058

THREADED ROD,9.53mm D x 148mm L

Extendahoe Rod

1шт.

11

D149287

PIN,7.9mm OD x 26.72mm L

1шт.

12

432-612

COTTER PIN,3/32" x 3/4"

1шт.

13

D150032

TUBE

Lube

1шт.

14

219-1

LUBE NIPPLE,1/8" - 27 NPTF

1шт.

Выбрано товаров: 14