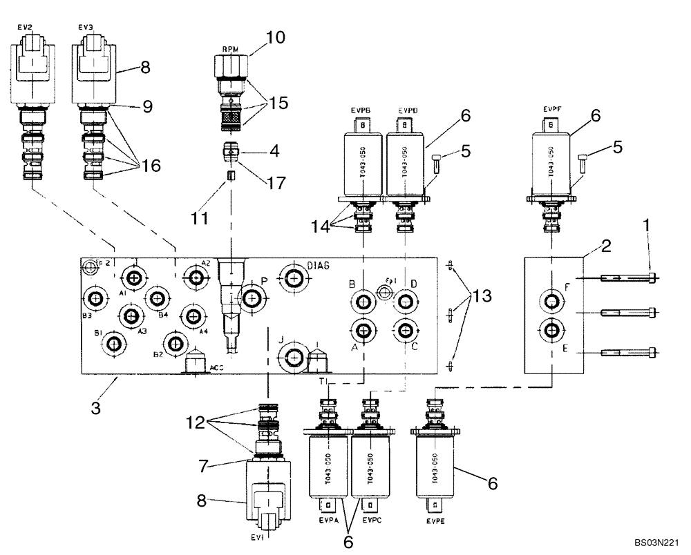
Запчасти Case 590SM (08-52) - VALVE ASSY, PRESSURE REDUCING (3 SPOOL) (WITH PILOT CONTROLS) (08) - HYDRAULICS

Схема запчастей Case 590SM - (08-52) - VALVE ASSY, PRESSURE REDUCING (3 SPOOL) (WITH PILOT CONTROLS) (08) - HYDRAULICS
8
1
14
11
4
3
15
6
13
6
10
6
12
6
17
8
16
2
9
7
5
5
FIT
1:1
100%

Артикул

Название

Примечание

Количество

85827471

HYDRAULIC VALVE

Pressure Reducing, Three Spool, Pilot Controls; Incl. Ref 1 - 17

1шт.

1

14358921

HEX SOC SCREW,M5 x 50mm, Cl 8.8

3шт.

2

85828004

BODY

One Function Add-On Manifold Block

1шт.

3

85828015

BLOCK

Manifold

1шт.

4

85827992

CHECK VALVE

Incl. 17

1шт.

5

14302921

HEX SOC SCREW,M4 x 10mm, Cl 8.8, Full Thd

12шт.

6

85827993

SOLENOID VALVE

Pressure Reducing Valve; Incl. 14

6шт.

RH/LH Stabilizer Retract PWM, RH/LH Stabilizer Extend PWM, Extendahoe Retract PWM, Extendahoe Extend PWM

1шт.

7

85827994

SOLENOID VALVE

Solenoid Valve Cartridge, 3 Way, 2 Position; Incl. Ref 8, 12

1шт.

Joystick Enable Solenoid

1шт.

8

85827995

COIL

With Diode

3шт.

9

85827996

SOLENOID VALVE,2 Section

Valve Cartridge, 4 Way, 2 Position; Incl. Ref 8, 16

2шт.

Pattern Change Solenoids

1шт.

10

85827997

VALVE

Mechanical Pressure Reducing Valve With Fixed Setting; Incl. 15

1шт.

11

85828005

ORIFICE

1.8 mm

1шт.

12

85827998

SEAL KIT

1шт.

13

85827999

SEAL KIT

1шт.

14

85828000

SEAL KIT

6шт.

15

85828001

SEAL KIT

1шт.

16

85828002

SEAL KIT

2шт.

17

85828003

O-RING,1mm Thk x 9mm ID

D9x1

1шт.

Выбрано товаров: 0