Запчасти Case 590SM (08-58) - VALVE, JOYSTICK (PILOT CONTROLS) (RIGHT-HAND) WITH EXTENDABLE DIPPER (08) - HYDRAULICS

Схема запчастей Case 590SM - (08-58) - VALVE, JOYSTICK (PILOT CONTROLS) (RIGHT-HAND) WITH EXTENDABLE DIPPER (08) - HYDRAULICS
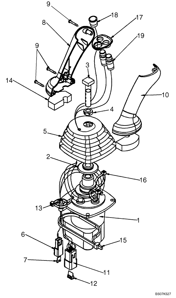
8
13
9
7
4
14
2
5
18
11
10
9
17
3
12
19
6
16
1
15
FIT
1:1
100%

Артикул

Название

Примечание

Количество

87685957

JOYSTICK

Pilot Controls, RH; With Extendable Dipper; Incl. Ref 1 - 19

1шт.

1

87687141

PILOT VALVE

Includes 87473380, 87586772, 87586773

1шт.

1

87687141R

REMAN-HYD VALVE

Includes 87473380, 87586772, 87586773

1шт.

1

87687141C

CORE-VALVE HYD

Core Return Number

1шт.

87473380

GUIDE

Plunger Assy, Guide

4шт.

87586772

PLATE

Spring

4шт.

87586773

KIT

Set of 4 Return Springs

1шт.

2

87428023

BOLT,Square Head, M12 x 1.75 x 60

Square Head

1шт.

3

87436225

RETAINER,12.5mm ID, 46mm OD

Control Boot

1шт.

4

87037944

THIN NUT,Thin, M12 x 1.75, Cl 05

1шт.

5

87443721

BOOT

Joystick Control

1шт.

6

225315C1

ELEC CONNECTOR,Male, 2 Pin

1шт.

7

225318C1

ELEC CONNECTOR,2 Pin

1шт.

8

87308838

HANDLE GRIP

Joystick Control Handle

1шт.

9

15687475

SELF-TAP SCREW,Pan Hd, M3.5 x 25mm, SST

3шт.

10

87308839

HANDLE GRIP

Joystick Control Handle

1шт.

11

225350C1

ELEC CONNECTOR,Male, 6 Pin

1шт.

12

225353C1

WEDGE,Lock, Black

Connector

1шт.

13

87424267

GROMMET

Wire

1шт.

14

87435506

SEAL,52mmL

Pilot Control Handlel, Lower

2шт.

15

87438046

CABLE TIE,375.9 mm L x 8mm W

CABLE STRAP

1шт.

16

87000312

CABLE TIE,4.8mm W x 203.2mm OAL, Nylon

CABLE STRAP

3шт.

17

87547309

BEZEL

Switch Mounting

1шт.

18

87546922

SWITCH ASSY

Push Bottom; One Touch Decelerator

1шт.

19

84134639

SWITCH

Push Button; Retract and Extendahoe Switches; Replaces 87437371

2шт.

Выбрано товаров: 25