Запчасти Case 590SM (08-59) - VALVE ASSY - SWING CUSHION (DAMPENING) (08) - HYDRAULICS

Схема запчастей Case 590SM - (08-59) - VALVE ASSY - SWING CUSHION (DAMPENING) (08) - HYDRAULICS
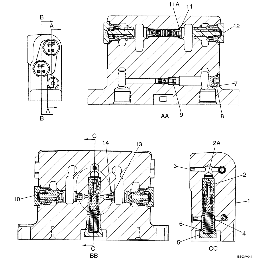
6
2a
9
5
13
11a
11
8
10
14
1
12
7
2
4
3
FIT
1:1
100%

Артикул

Название

Примечание

Количество

87449373

HYDRAULIC VALVE

Swing Cushion; Incl. Ref 1 - 14; No Longer Available, For Service Order 87480653

1шт.

87480653

DAMPING VALVE

Swing Cushion; Incl. Ref 1 - 14

1шт.

1

NSS

NOT SOLD SEPARAT

Housing

1шт.

2

87449374

SPOOL

Thermal Compensating; Component Parts Not Serviced Separately

1шт.

2a

1976955C1

FILTER SCREEN

1шт.

3

369372A1

PLUG,6.5mm OD x 5mm L

Expansion; M5

2шт.

4

388881A1

COIL SPRING,Compression, 12.20mm OD x 59.21mm L

1шт.

5

409025A1

PLUG,Hex, 3/4" - 16 ORB

Relief Check; Incl. Ref 6

1шт.

6

237-6008

O-RING,0.087" Thk x 0.644" ID, -908, Cl 6, 90 Duro

Boss seal

1шт.

7

9625178

PLUG,9/16" - 18 ORB

Incl. Ref 8

1шт.

8

237-6006

O-RING,0.078" Thk x 0.468" ID, -906, Cl 6, 90 Duro

Boss seal

1шт.

9

388712A2

VALVE

Bi-Directional Check Valve; Includes 388713A1 Seal Kit

1шт.

388713A1

SEAL KIT

Seal; Includes An O-Ring and Backup Ring; Component Parts Not Serviced Separately

1шт.

10

396422A2

VALVE, CHECK

100 psi, Orifice Check Valve; Component Parts Not Serviced Separately; Order 1542830C2 Seal Kit To Service External Seals

2шт.

443432A1

SEAL KIT

For Servicing External Seals on Ref 9, 10, 11 or 12 Valve; If Used

1шт.

11

400296A2

VALVE, CHECK

In-Line Check Valve; Component Parts Not Serviced Separately; Incl. Ref 11A

2шт.

11a

237-6004

O-RING,0.072" Thk x 0.351" ID, -904, Cl 6, 90 Duro

Boss seal

1шт.

12

8605073

VALVE, CHECK

5 psi; Component Parts Not Serviced Separately; Order 1542830C2 Seal Kit To Service External Seals; Replaces 389541A1; 87449373 Valve Only

2шт.

1542830C2

SEAL KIT

For Servicing External Seals on Ref 10 or 12 Valve

1шт.

12

87753055

CHECK VALVE

5 psi; Component Parts Not Serviced Separately; 87480653 Valve Only

2шт.

13

400657A1

PLUG,1.85mm Hole

Orifice 1.85 mm; Incl. Ref 14

2шт.

14

237-6002

O-RING,0.064" Thk x 0.239" ID, -902, Cl 6, 90 Duro

1шт.

Выбрано товаров: 0