Запчасти Case 590SM (09-01C) - HANDLE, LOADER CONTROL - POWER SHIFT TRANSMISSION (09) - CHASSIS/ATTACHMENTS

Схема запчастей Case 590SM - (09-01C) - HANDLE, LOADER CONTROL - POWER SHIFT TRANSMISSION (09) - CHASSIS/ATTACHMENTS
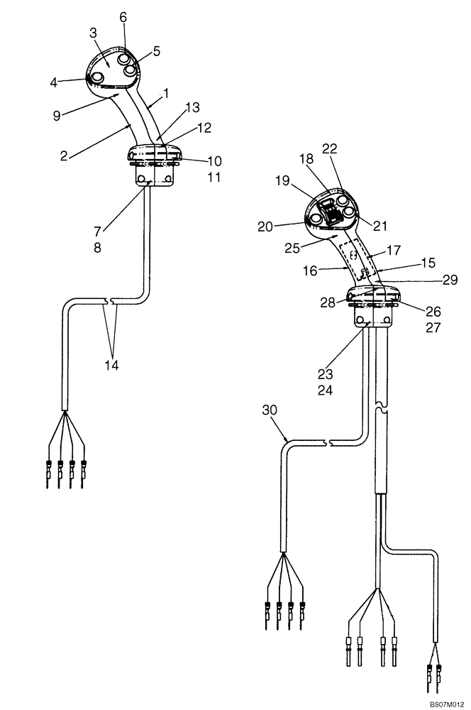
18
28
10
16
7
25
29
17
21
22
9
13
14
15
19
24
8
23
1
5
20
3
30
6
2
26
12
4
11
27
FIT
1:1
100%

Артикул

Название

Примечание

Количество

87638045

JOYSTICK

Loader Control Lever,Three Button, DeClutch, Differential Lock, And Kick-Down Switches; 2 Spool With Power Shift Transmission; Incl. 1 - 14

1шт.

1

NSS

NOT SOLD SEPARAT

Handle Grip, Loader Control, RH Half

1шт.

2

NSS

NOT SOLD SEPARAT

Handle Grip, Loader Control, LH Half

1шт.

3

NSS

NOT SOLD SEPARAT

Bezel, Switch Mounting

1шт.

4

NSS

NOT SOLD SEPARAT

Switch, Push Button, De-Clutch Differential Lock

1шт.

5

NSS

NOT SOLD SEPARAT

Switch, Push Button, Differential Lock

1шт.

6

NSS

NOT SOLD SEPARAT

Switch, Push Button, Kick-Down

1шт.

7

825-1404

NUT,M4, Cl 8

4шт.

8

86639294

HEX SOC SCREW,M4 x 0.7 x 20mm, Cl 8.8

4шт.

9

260-16312

SELF-TAP SCREW,Pan HD, M6 x 20mm

2шт.

10

87019103

SET SCREW,M6 x 10mm

2шт.

11

87638350

NUT

NUT

2шт.

12

87689189

CABLE TIE,110mm L

CABLE STRAP

1шт.

13

87689338

SCREW,#4 - 24 x 3/8"

1шт.

14

NSS

NOT SOLD SEPARAT

Harness, Differential Lock, De-Clutch, Kick -Down

1шт.

87638044

JOYSTICK

Loader Control Lever, Three Button, DeClutch, Differential Lock, And Kick-Down Switches, Prop Roller With Detent; 3 Spool With Power Shift Transmission; Incl. 15 - 30

1шт.

15

NSS

NOT SOLD SEPARAT

Handle Grip, Loader Control, RH Half

1шт.

16

NSS

NOT SOLD SEPARAT

Handle Grip, Loader Control, LH Half

1шт.

17

NSS

NOT SOLD SEPARAT

Circuit Board With Harness; Bi-Directional PWM Driver

1шт.

18

NSS

NOT SOLD SEPARAT

Bezel, Switch Mounting

1шт.

19

NSS

NOT SOLD SEPARAT

Switch, Prop Roller With Detent

1шт.

20

NSS

NOT SOLD SEPARAT

Switch, Push Button, De-Clutch

1шт.

21

NSS

NOT SOLD SEPARAT

Switch, Push Button, Differential Lock

1шт.

22

NSS

NOT SOLD SEPARAT

Switch, Push Button, Kick-Down

1шт.

23

825-1404

NUT,M4, Cl 8

4шт.

24

86639294

HEX SOC SCREW,M4 x 0.7 x 20mm, Cl 8.8

4шт.

25

260-16312

SELF-TAP SCREW,Pan HD, M6 x 20mm

2шт.

26

87019103

SET SCREW,M6 x 10mm

2шт.

27

87638350

NUT

NUT

2шт.

28

87689189

CABLE TIE,110mm L

CABLE STRAP

1шт.

29

87689338

SCREW,#4 - 24 x 3/8"

1шт.

30

NSS

NOT SOLD SEPARAT

Harness, Differential Lock, De-Clutch, Kick-Down

1шт.

Выбрано товаров: 32