Запчасти Case 590SM (09-23A) - BOOM GUARD (09) - CHASSIS/ATTACHMENTS

Схема запчастей Case 590SM - (09-23A) - BOOM GUARD (09) - CHASSIS/ATTACHMENTS
5
5
6
4
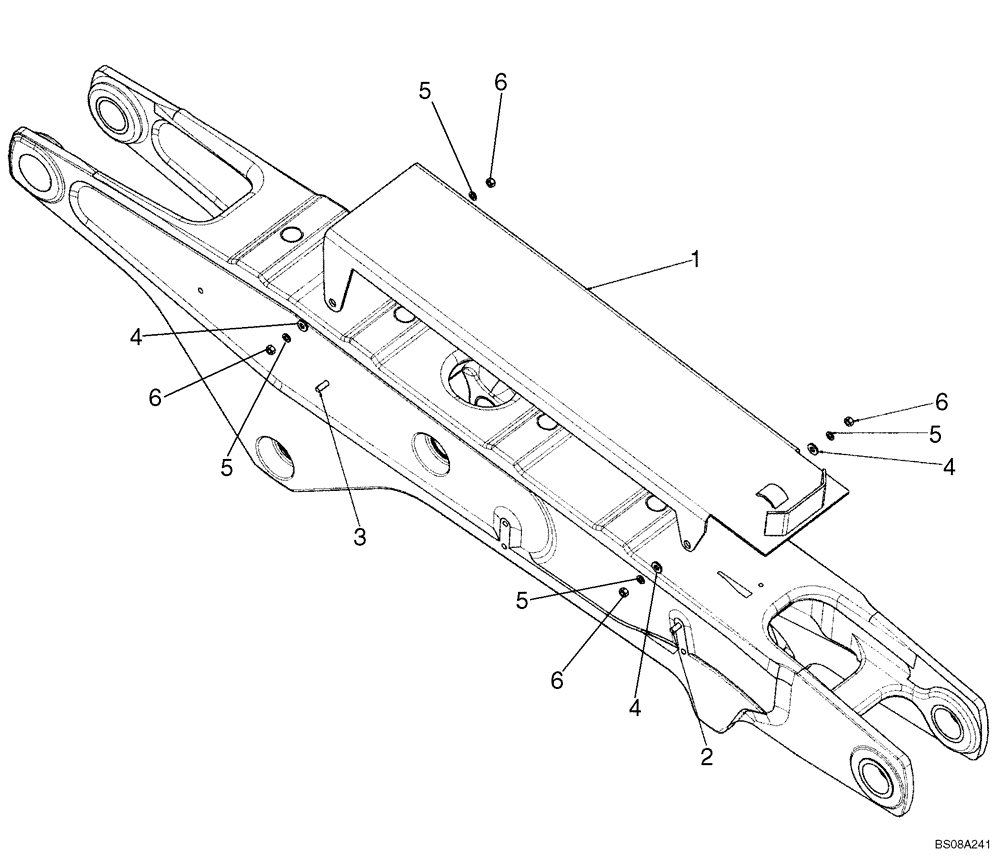
2
4
4
5
6
3
1
6
6
5
FIT
1:1
100%

Артикул

Название

Примечание

Количество

87537222

GUARD

Boom; Incl. 1 - 6

1шт.

1

87537220

GUARD

1шт.

2

814-12090

BOLT,Hex, M12 x 1.75 x 90mm, Cl 8.8

2шт.

3

814-12080

BOLT,Hex, M12 x 1.75 x 80mm, Cl 8.8

2шт.

4

896-15012

WASHER,13.5mm ID x 28mm OD x 4mm Thk

4шт.

5

892-11012

LOCK WASHER,M12

4шт.

6

829-1412

NUT,M12, Cl 10.9

4шт.

87540157

SERVICE KIT

Kit, Boom Guard; Includes 1 - 6 And An Instruction Sheet

1шт.

Выбрано товаров: 0