Запчасти Case 580SN (35.723.050) - LOADER BUCKET, CONTROLS, CYLINDER, COMPONENTS (35) - HYDRAULIC SYSTEMS

Схема запчастей Case 580SN - (35.723.050) - LOADER BUCKET, CONTROLS, CYLINDER, COMPONENTS (35) - HYDRAULIC SYSTEMS
10
2
18
8
3
2
17
4
2
2
2
2
5
16
7
7
6
15
14
9
2
1
12
2
11
2
13
FIT
1:1
100%

Артикул

Название

Примечание

Количество

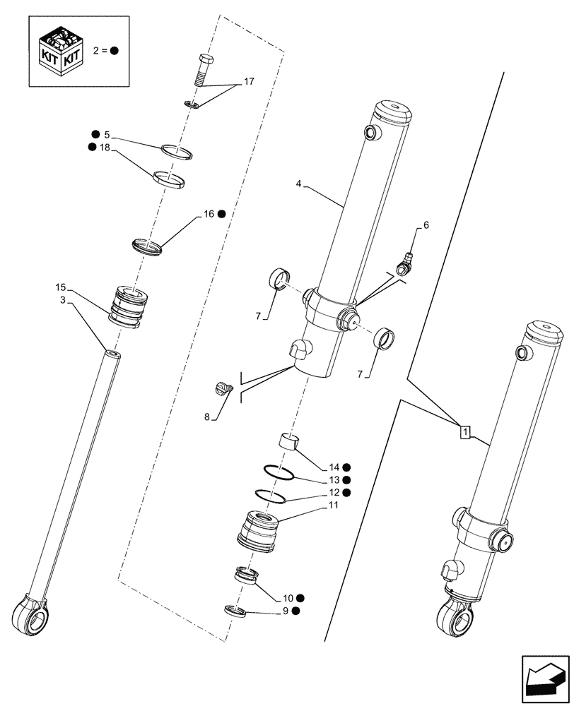
1

84421601

HYDRAULIC CYLINDER,Double Acting, 38.1mm Rod, 516.5mm Stroke

ASSY, Grey, Incl 2 - 18

1шт.

2

84257772

SEAL KIT,38.1mm Rod x 76.2mm Bore

ASSY, Loader Arm Cylinder, Incl 5, 9, 10, 12 - 14, 16, 18

1шт.

3

84237943

ROD,38.1mm OD

Chrome

1шт.

4

NSS

NOT SOLD SEPARAT

Tube, Incl in 1

1шт.

5

364376A1

RING,Locking, 68.88mm ID x 76.1mm OD x 4.74mm Thk

1шт.

6

219-55

LUBE NIPPLE,90 Degree Elbow, 1/8" - 27 NPTF

1шт.

7

G108512

BUSHING,41.2mm ID x 50mm OD x 18.7mm L

2шт.

8

G109395

SELF-TAP SCREW,Hex, #8 - 32 x 3/8"

1шт.

9

D95142

WIPER SEAL,1.5" ID x 2" OD x 0.31" Thk

1шт.

10

1542874C1

SEAL KIT,38.1mm Rod

Bucket Cylinder, Rod & Buffer

1шт.

11

84237948

GLAND

1шт.

12

G109298

RING,69.47mm ID x 75.57mm OD x 1.4mm Thk

1шт.

13

238-5231

O-RING,0.139" Thk x 2.609" ID, -231, Cl 5, 75 Duro

1шт.

14

G102424

BUSHING,38.1mm ID x 41.17mm OD x 25.15mm L

1шт.

15

84237950

PISTON,75.57mm Bore, 40.25mm Rod, 75.95mm W

1шт.

16

87715781

SEAL,63.78mm ID x 76.2mm OD

Piston

1шт.

17

86982435

SPECIAL BOLT,3/4" - 16 x 2-1/2"

1шт.

18

G100449

WEAR RING,Split, 69.85mm ID x 76.2mm OD x 9.52mm Thk

1шт.

Выбрано товаров: 18